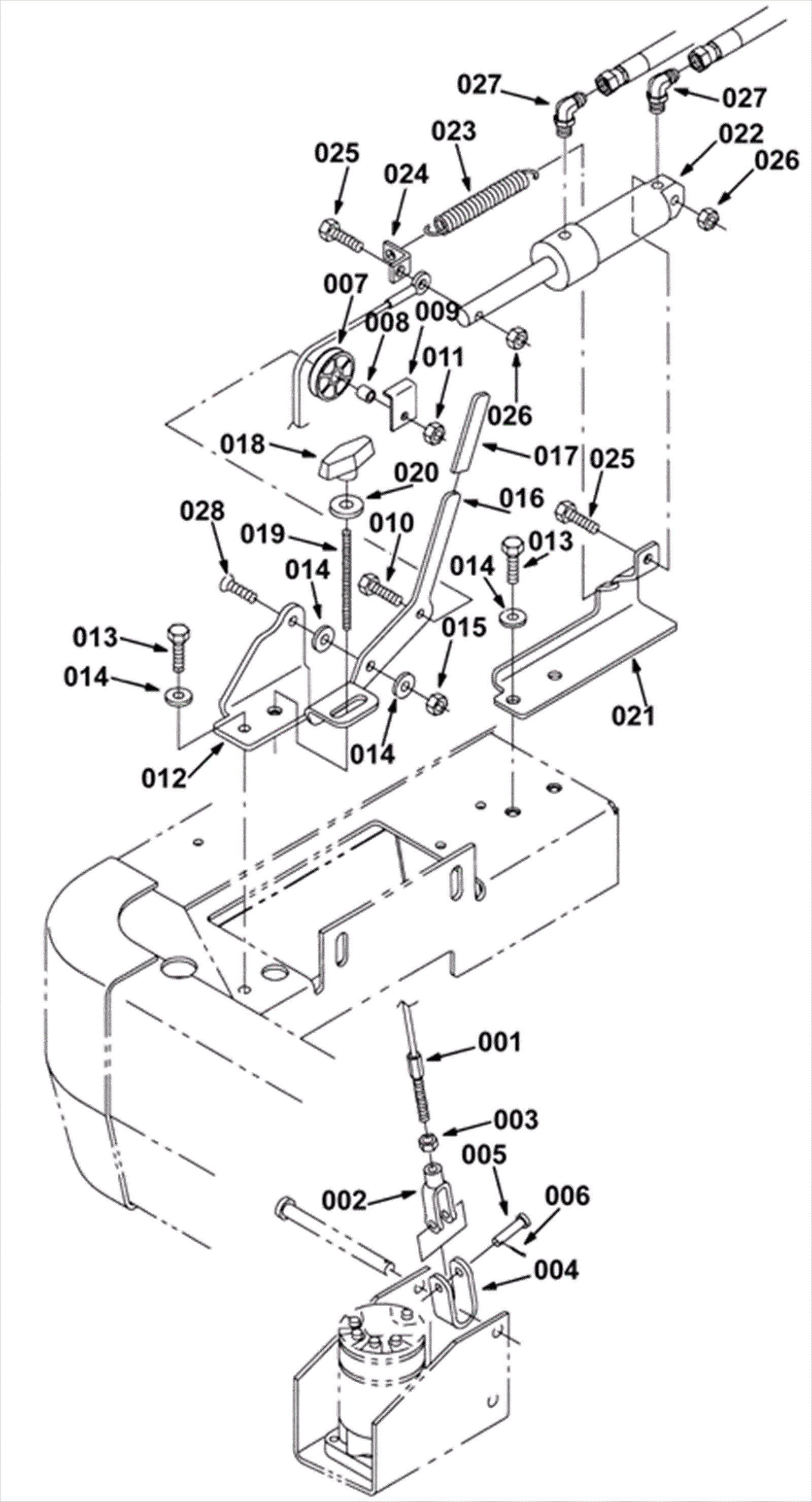
Side Brush Lift Group
Click to enlarge