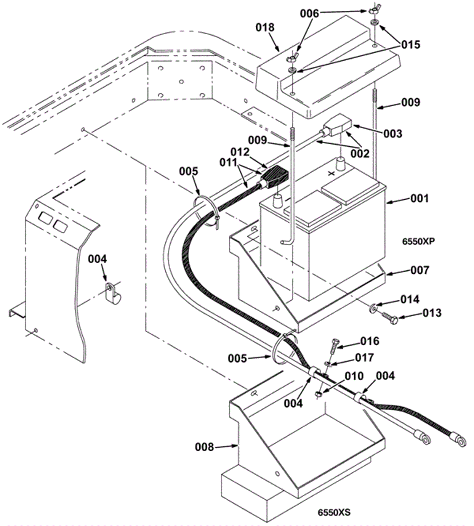
Battery Group, LPG
Click to enlarge