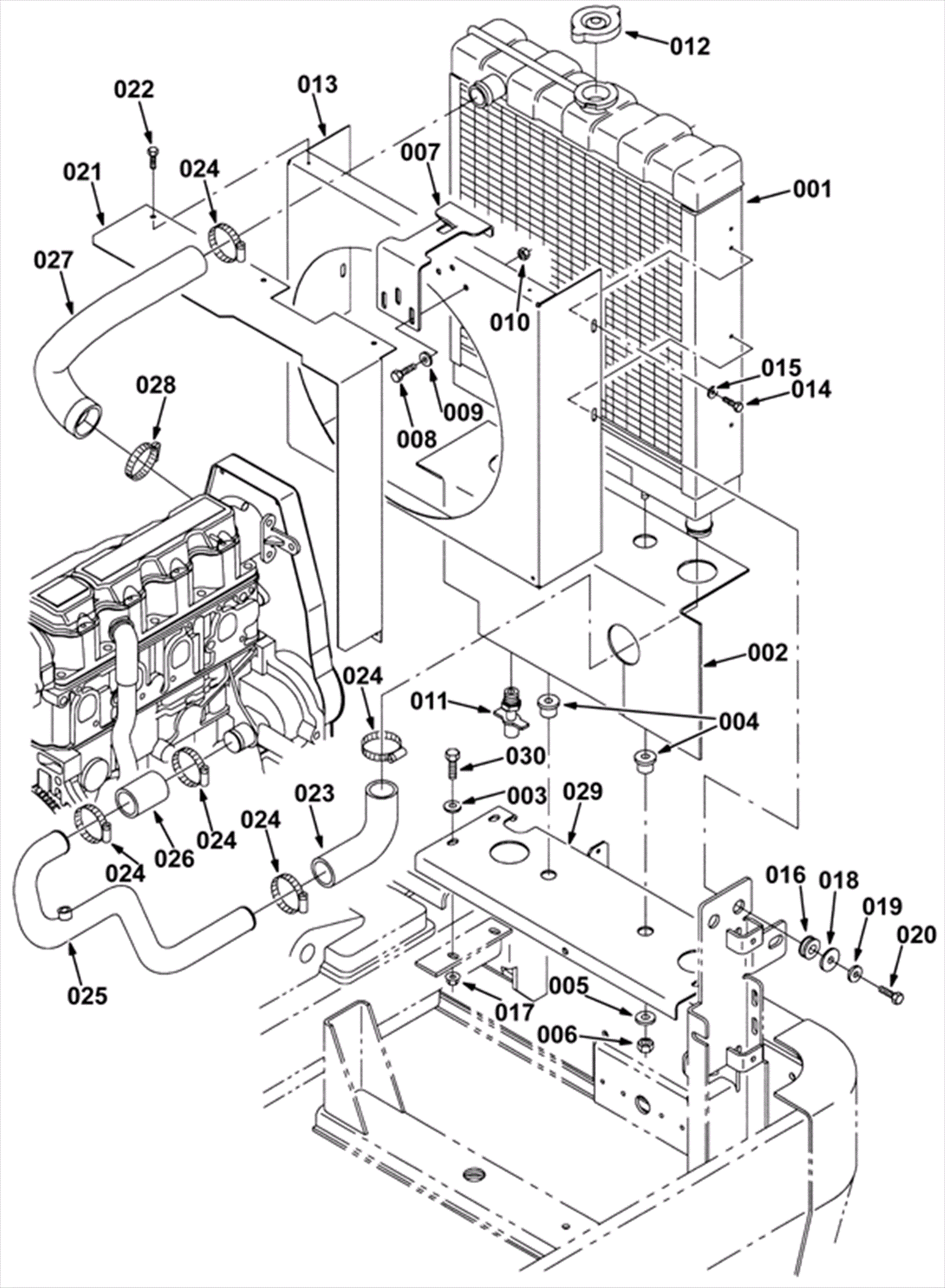
Engine Radiator Group (010000-)
Click to enlarge