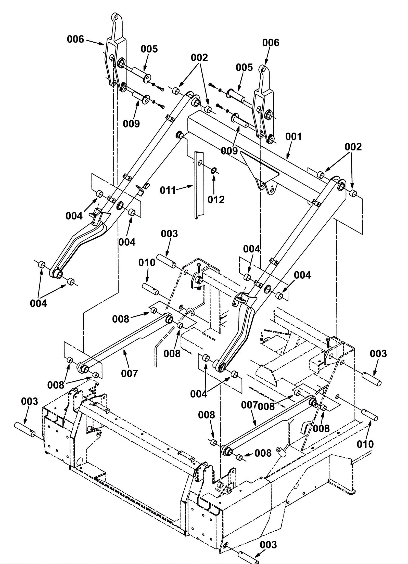
Hopper Lift Arms Group 1
Click to enlarge