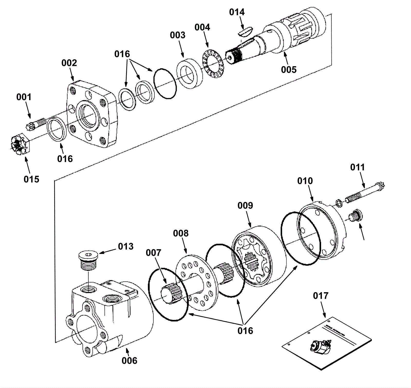
Hydraulic Gear Motor Breakdown, 361021
Click to enlarge