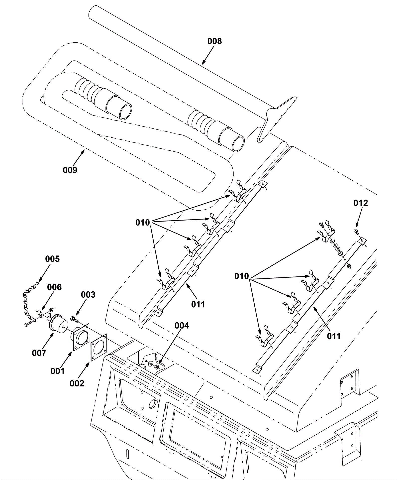
Vacuum Wand Kit
Click to enlarge