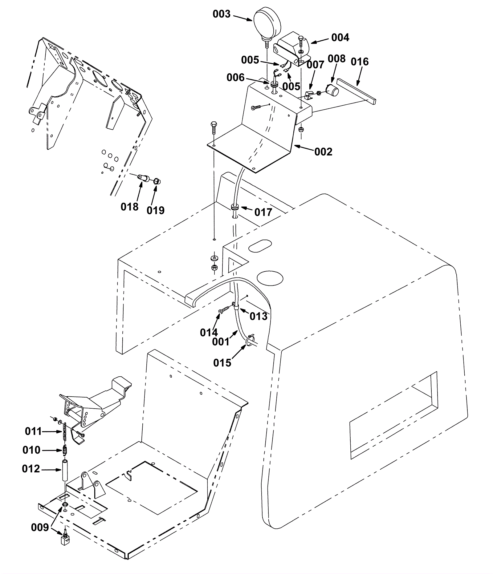
Backup Alarm Kit
Click to enlarge