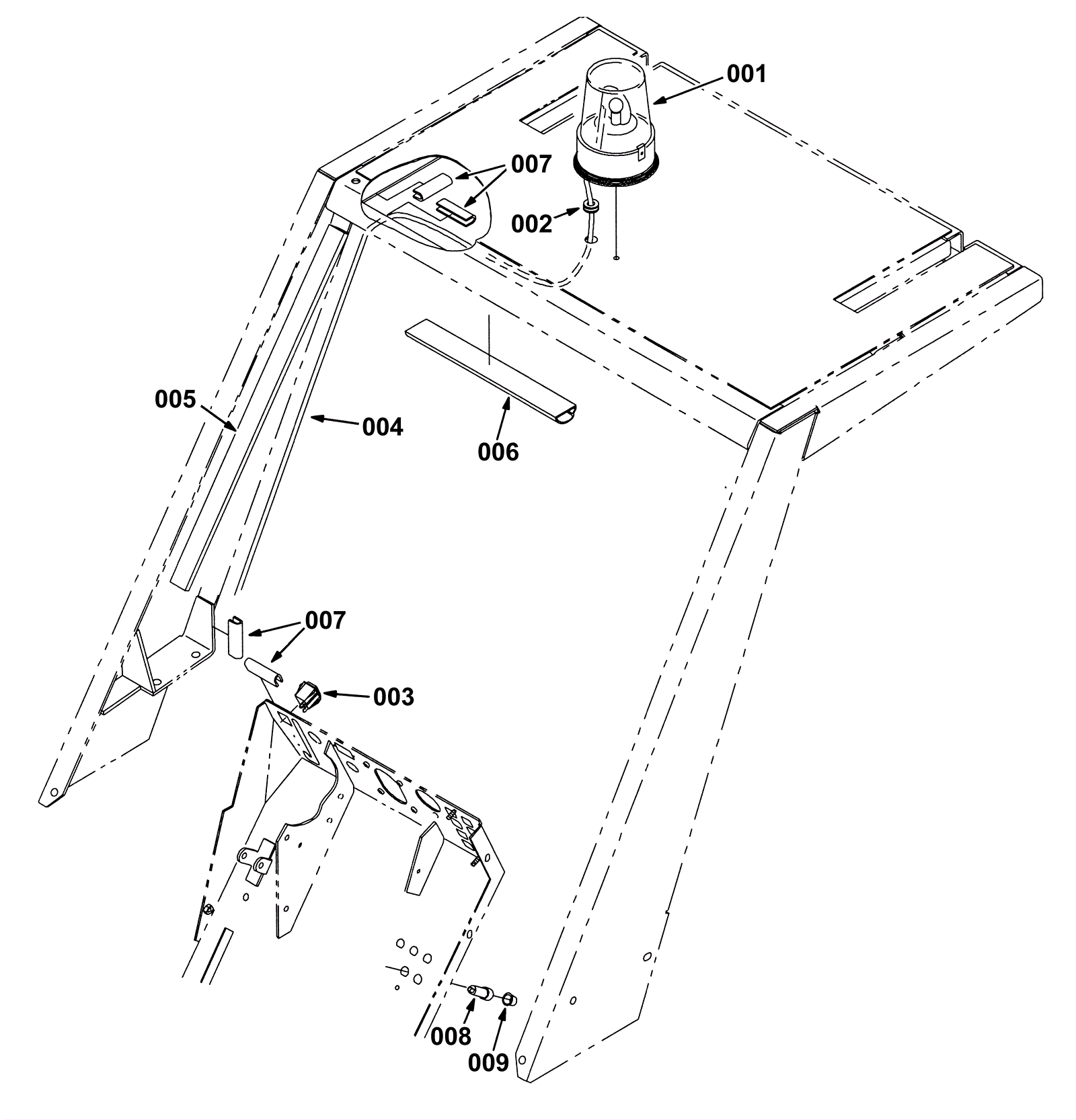
Revolving Light Kit, Overhead Guard
Click to enlarge