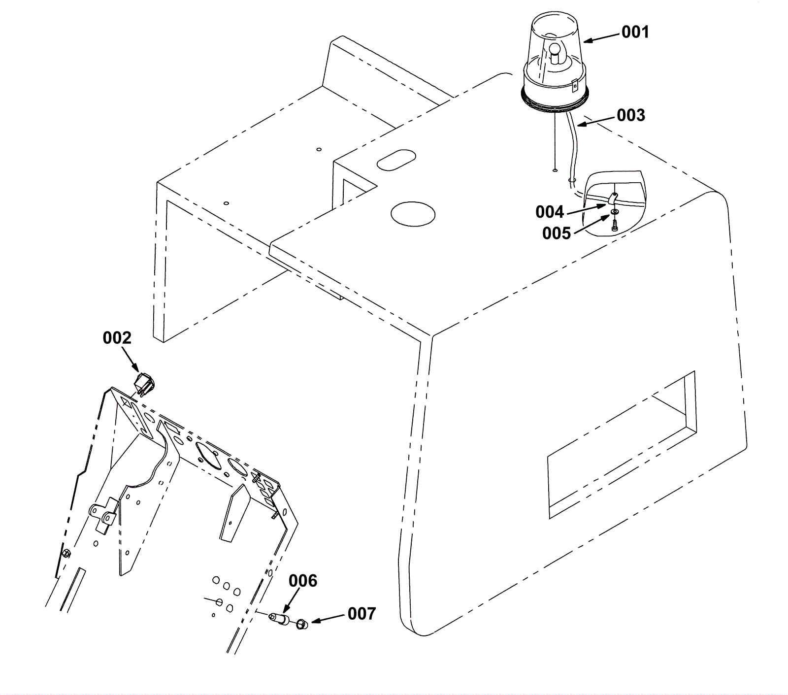
Revolving Light Kit
Click to enlarge