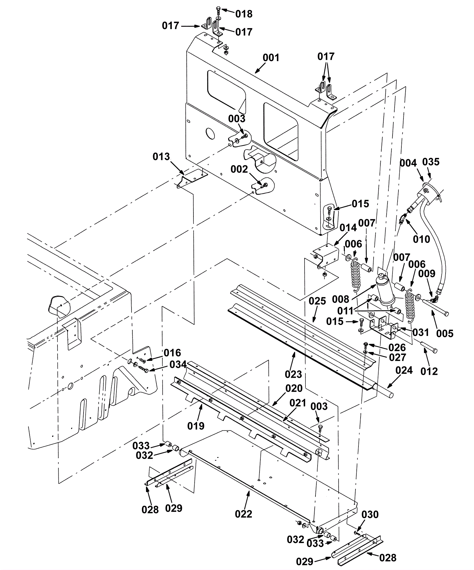
Hopper Dump Door Group
Click to enlarge