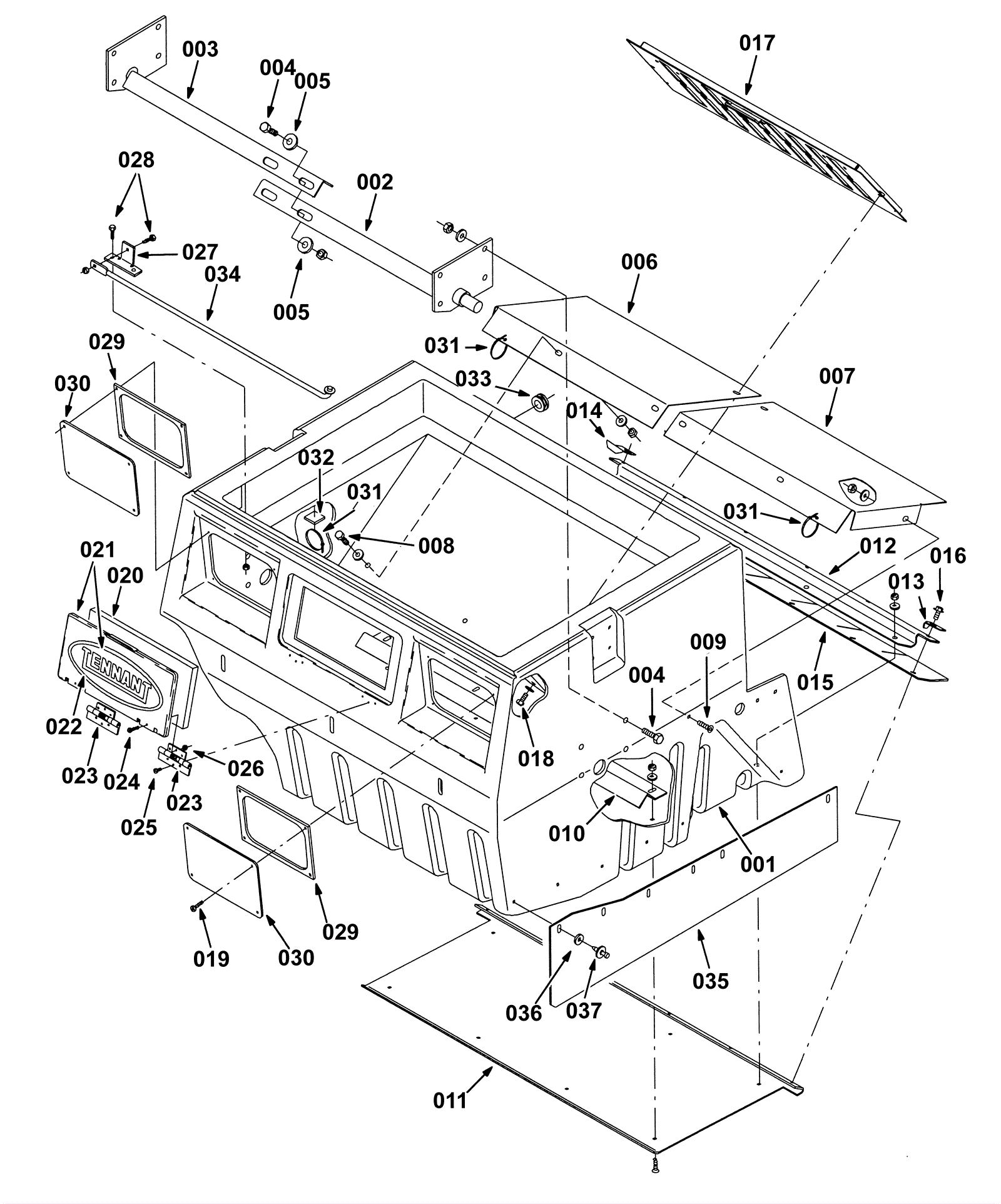
Hopper Group
Click to enlarge