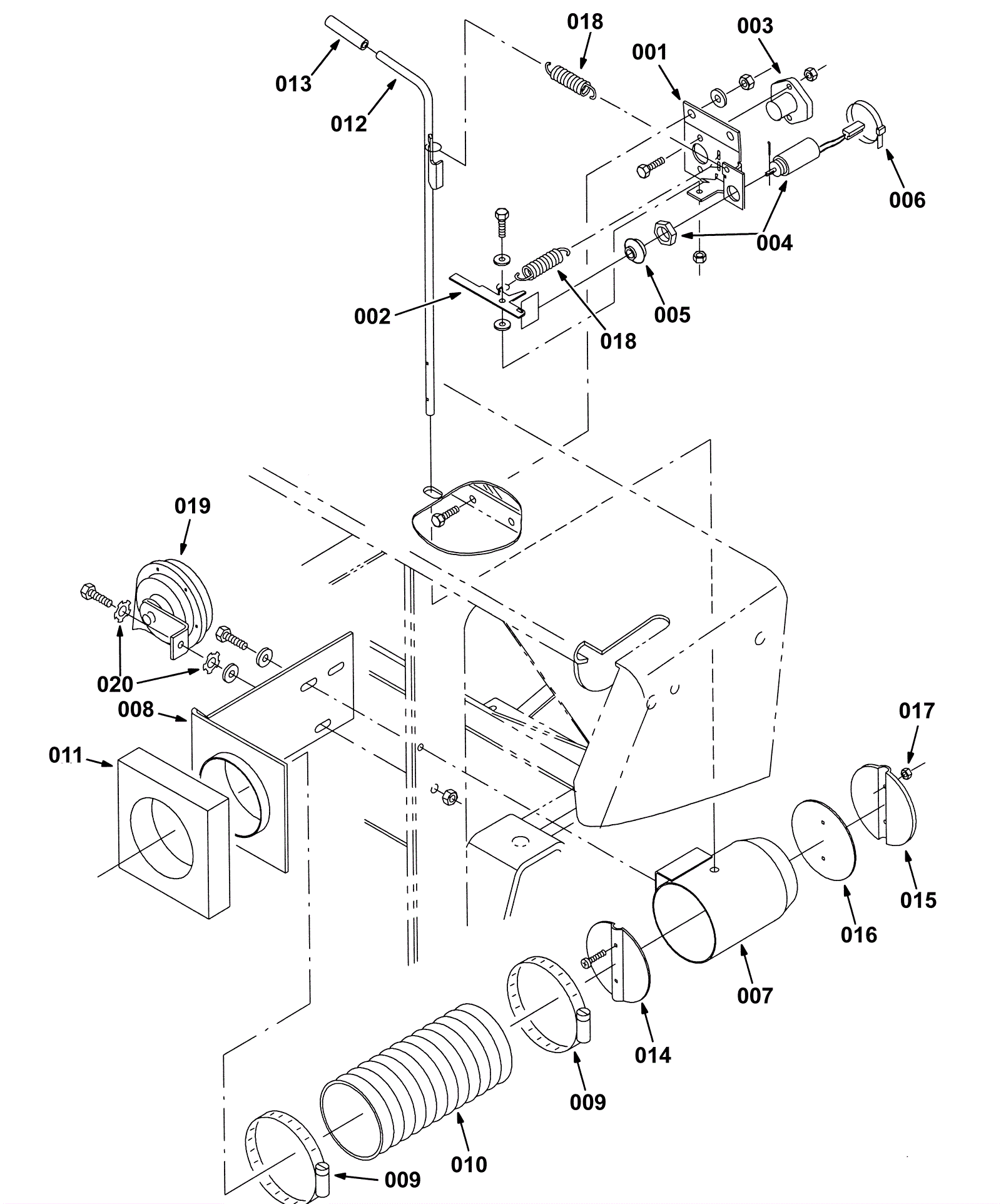
Vacuum Fan Control Group
Click to enlarge