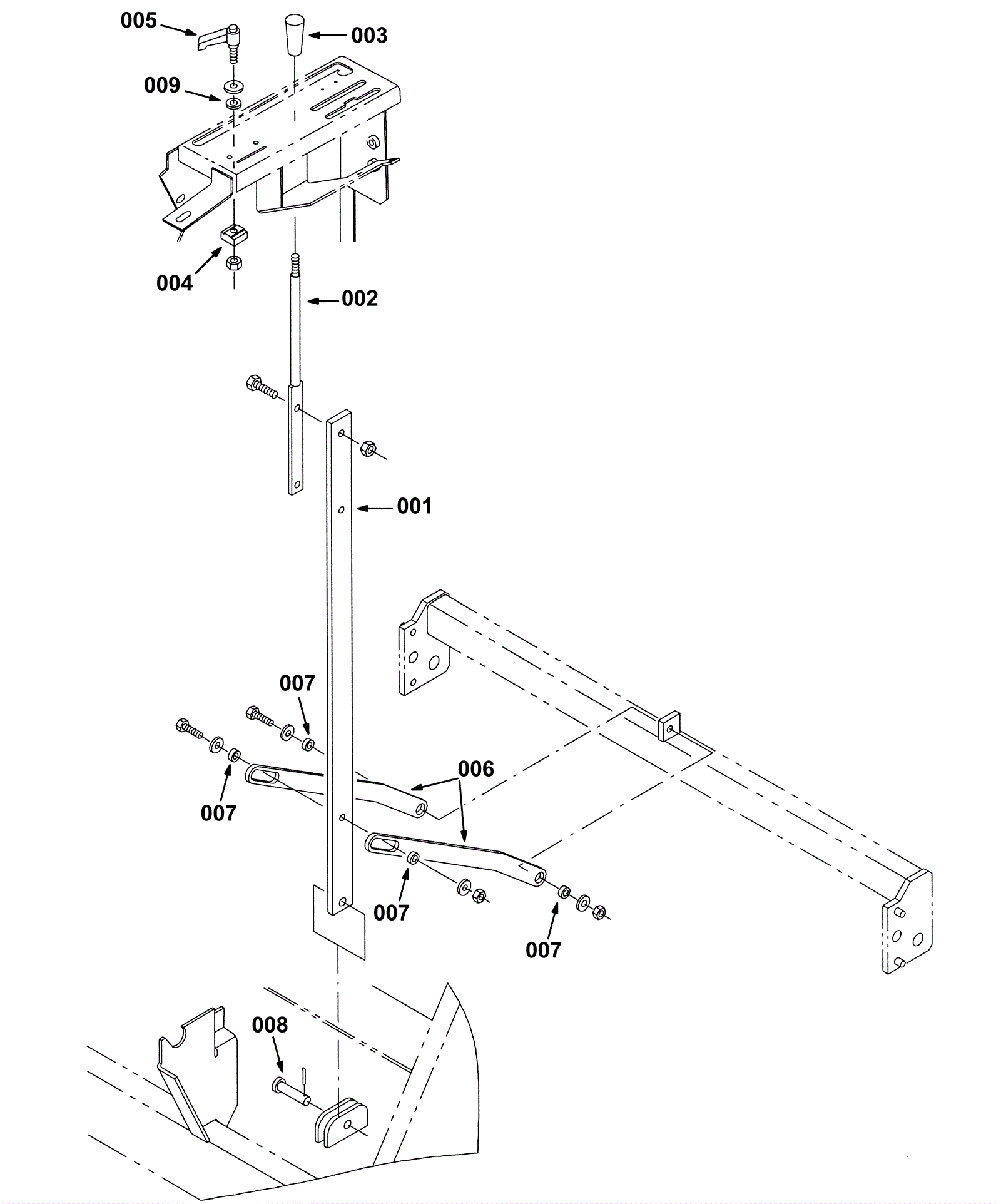
Main Brush Lift Group
Click to enlarge