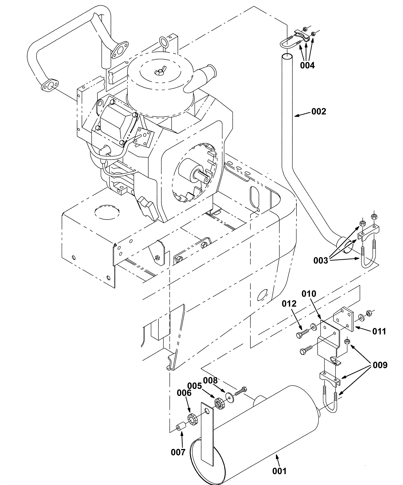
Muffler Group, G/LP
Click to enlarge