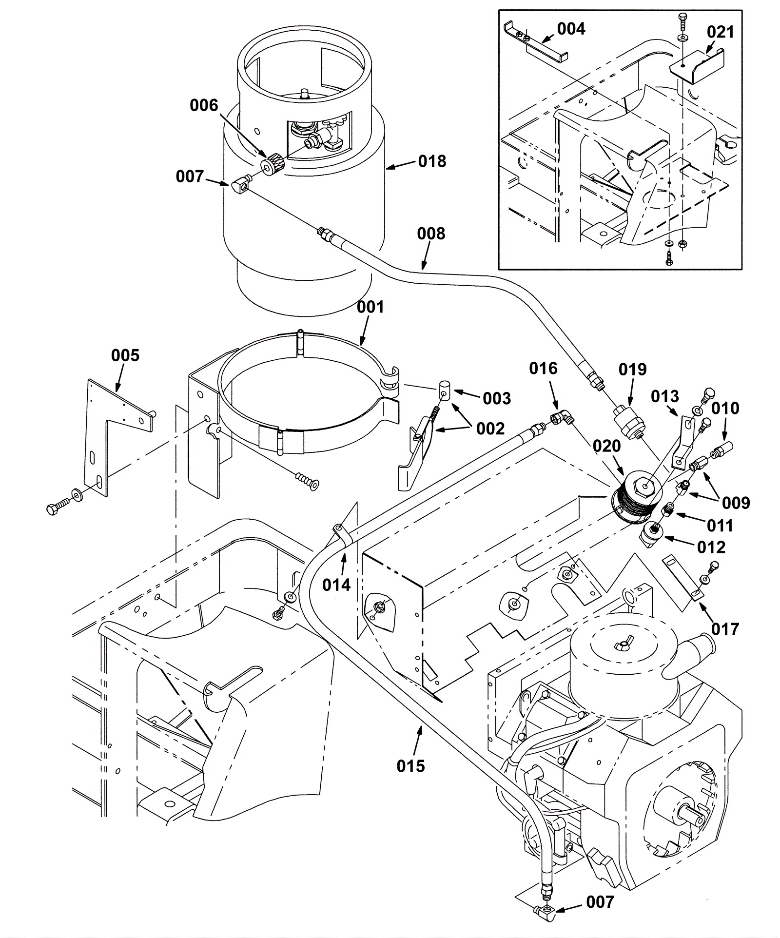
Fuel Tank Group, LPG
Click to enlarge