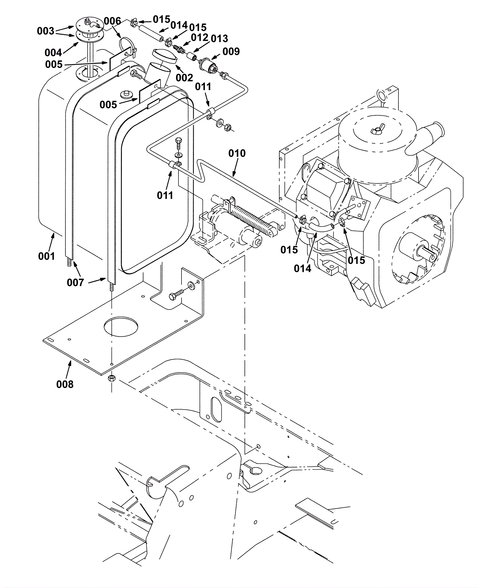
Fuel Tank Group, Gas
Click to enlarge