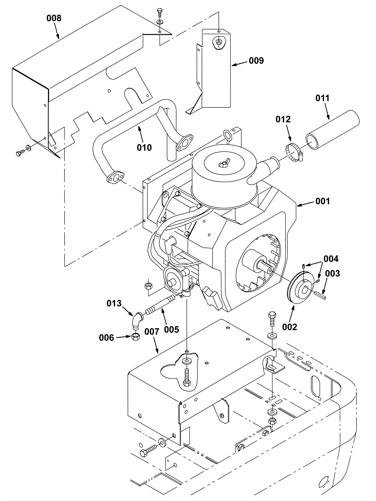
Engine and Mount Group, LPG
Click to enlarge