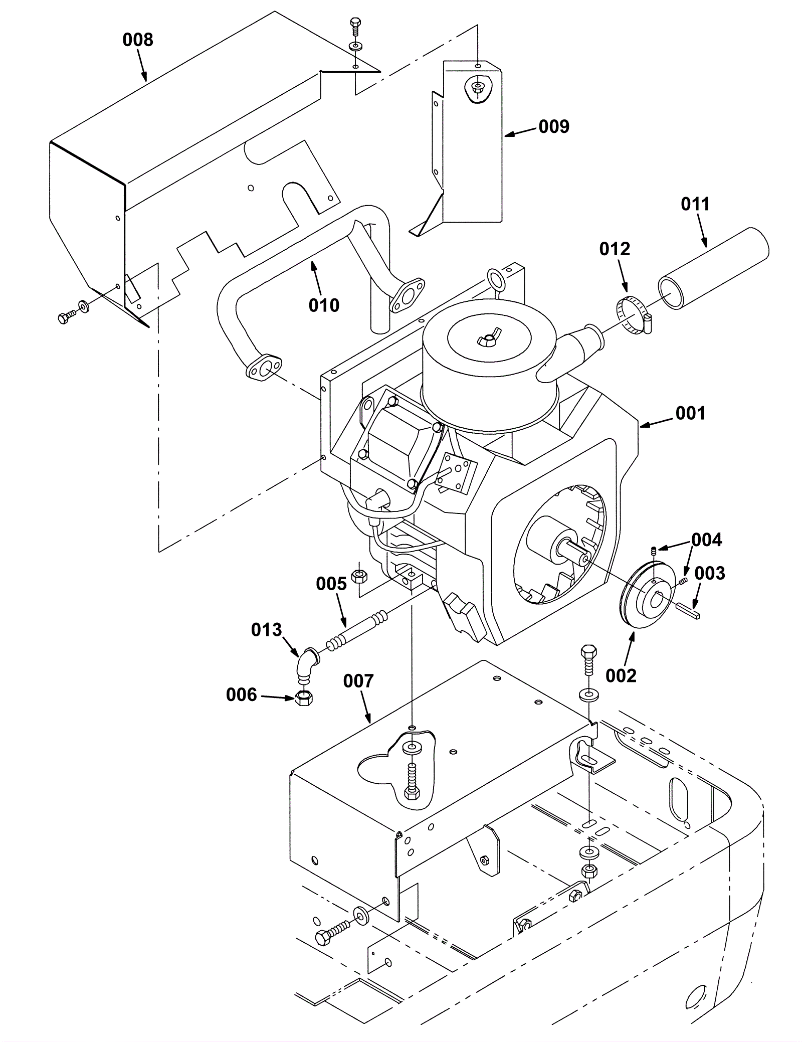
Engine and Mount Group, Gas
Click to enlarge