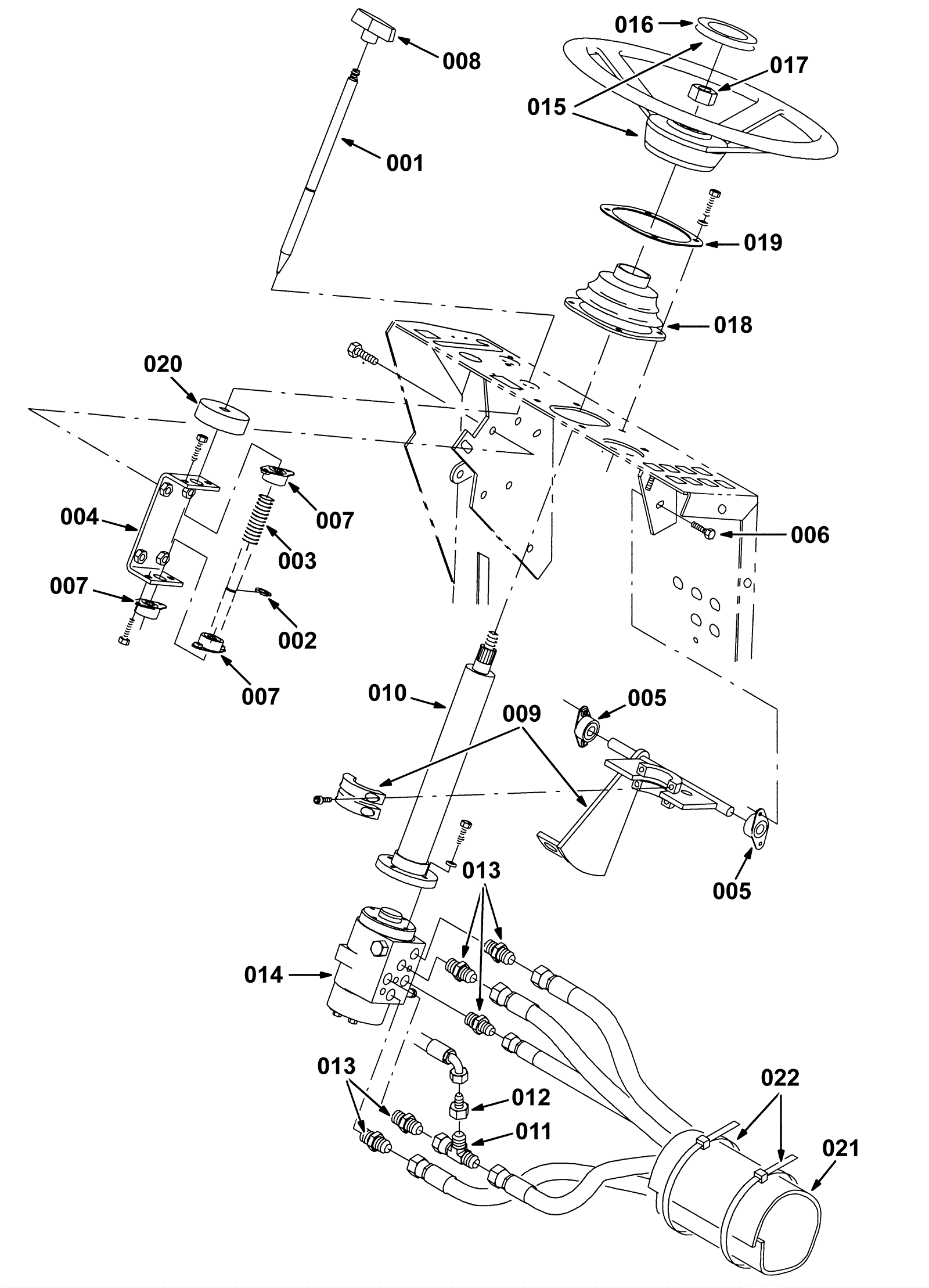
Steering Wheel Group
Click to enlarge