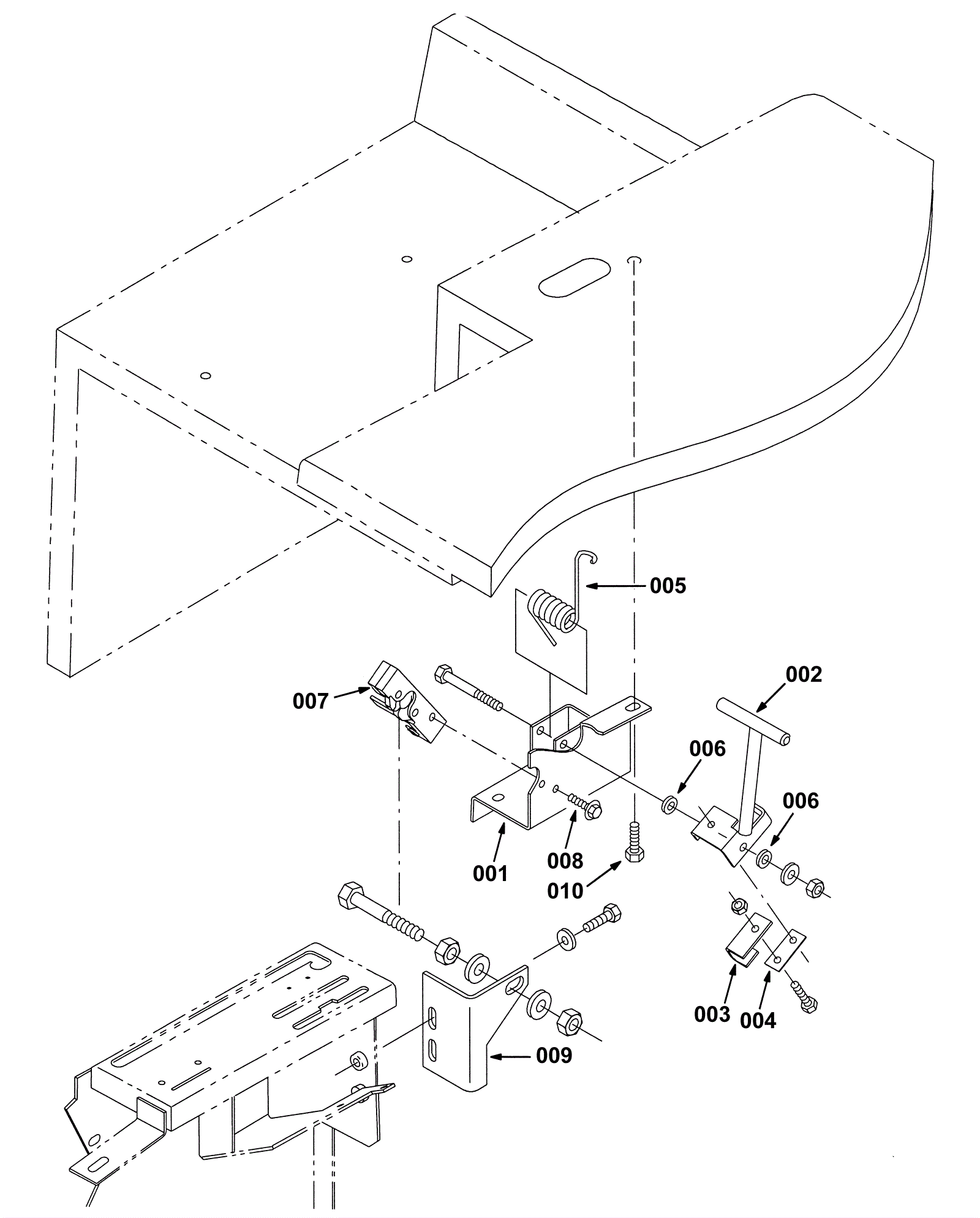
Rear Cover Latch Group
Click to enlarge