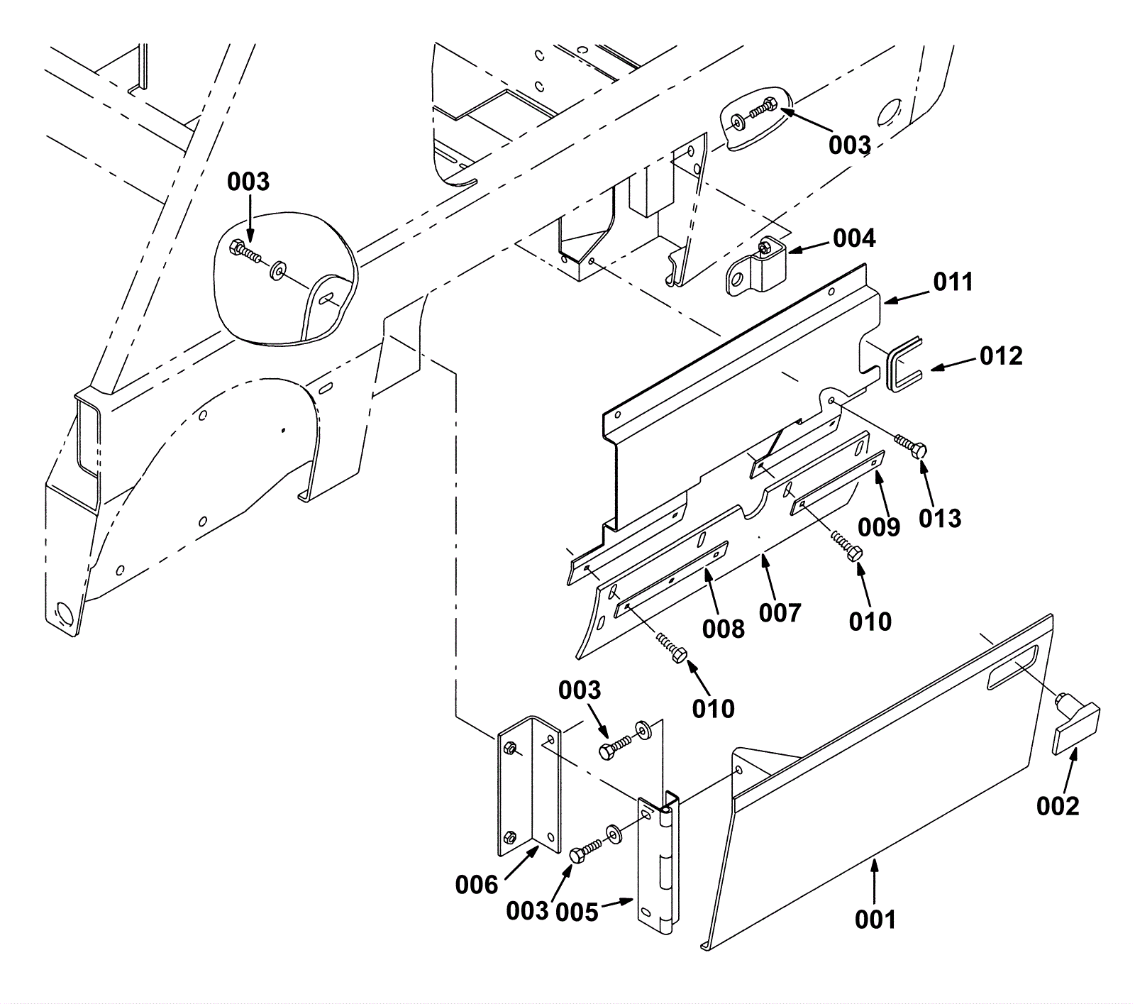
Left Brush Door Group
Click to enlarge