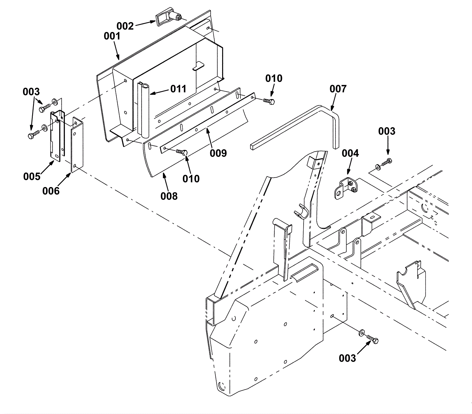
Right Brush Door Group
Click to enlarge