| # | Part | Description | Price | Req | Notes | Availability |
0 |
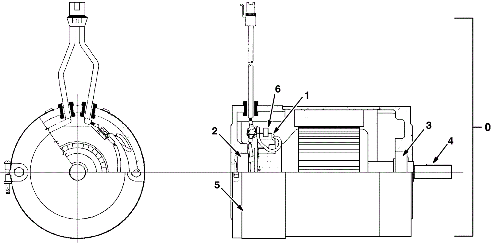
275-2160
|
MOTOR, ELE, 36VDC 2200RPM 1.00HP 28.0A (Tennant Industrial) |
$2,869.91
|
1 |
(includes 1-6) |
usually ships 1-5 days |
1 |
275-4327
|
VR, BRUSH, MOTOR, ELE (Tennant Industrial) |
$76.18
|
4 |
|
usually ships 1-5 days |
2 |
275-4328
|
VR, BEARING, MOTOR, ELE (Tennant Industrial) |
$60.85
|
1 |
|
usually ships 1-5 days |
3 |
N/A
|
Not available |
Call for price
|
1 |
(bearing) |
usually ships 3-26 days |
4 |
275-0085
|
Square key .19 x .19 1.25l |
$4.36
|
1 |
|
usually ships 10-13 days |
5 |
275-4330
|
Band assembly (Tennant Industrial) (OBSOLETE) |
$9.20
|
1 |
|
usually ships 1-5 days |
6 |
275-4331
|
VR, BRUSHHOLDER, MOTOR, ELE, W/ BRUSH (Tennant Industrial) |
$537.57
|
1 |
|
usually ships 1-5 days |
N/S |
175-5365
|
Female terminal |
$2.18
|
2 |
|
usually ships 1-5 days |
N/S |
175-5293
|
Female connector |
$11.00
|
1 |
|
ships same day |