| # | Part | Description | Price | Req | Notes | Availability |
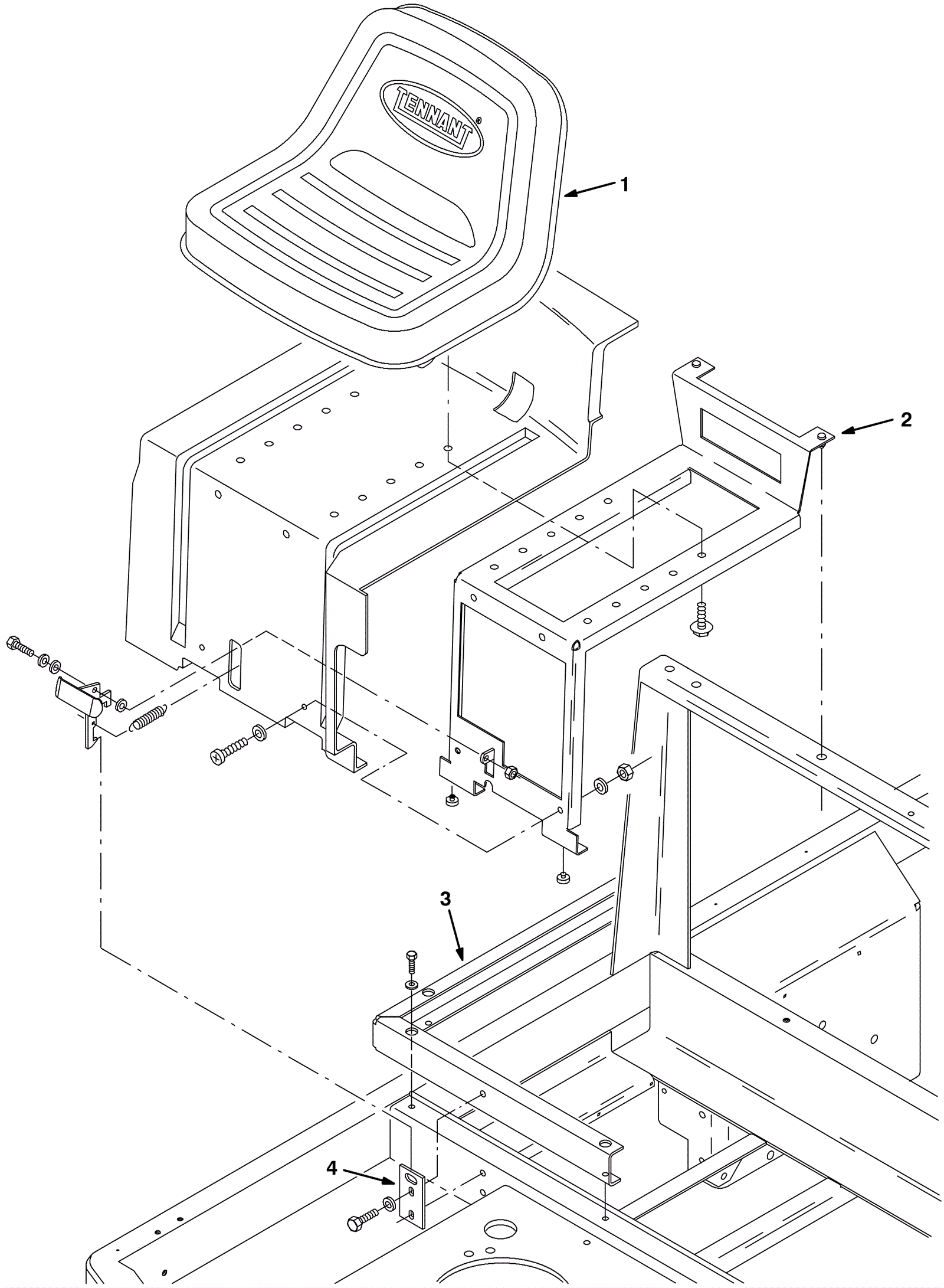
1 |
275-4268
|
PANEL, SHRD, SEAT SPPT (Tennant Industrial) (OBSOLETE) |
$235.60
|
1 |
|
usually ships 1-5 days |
2 |
275-4269
|
FRAME, SEAT (Tennant Industrial) (OBSOLETE) |
$582.50
|
1 |
|
usually ships 1-5 days |
3 |
275-4270
|
CHANNEL, MTG, SPPT, SEAT (Tennant Industrial) |
$483.97
|
1 |
|
usually ships 1-5 days |
4 |
275-4271
|
PLATE, STRIKE (Tennant Industrial) (OBSOLETE) |
$318.00
|
1 |
|
usually ships 1-5 days |