| # | Part | Description | Price | Req | Notes | Availability |
1 |
N/A
|
Not available |
Call for price
|
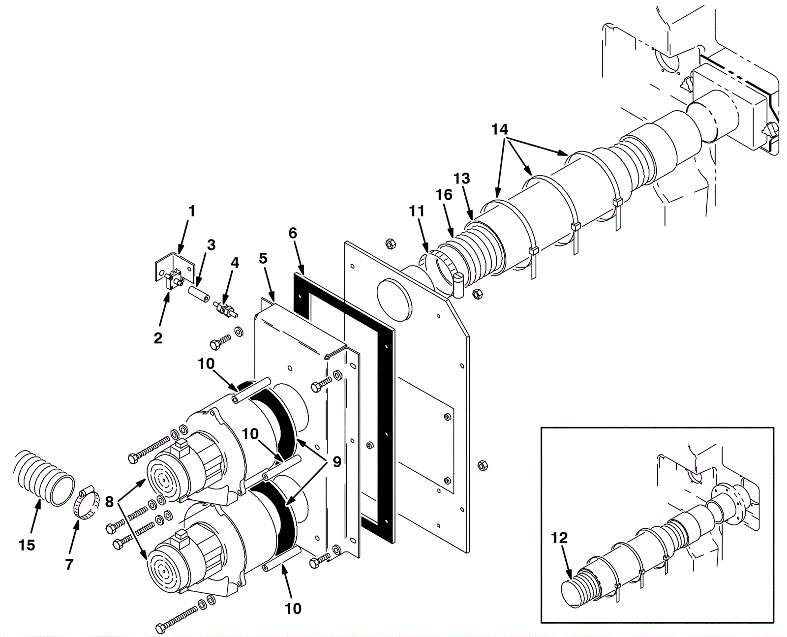
1 |
(vacuum switch mounting bracket) |
usually ships 3-26 days |
2 |
N/A
|
Not available |
Call for price
|
1 |
(vacuum switch) |
usually ships 3-26 days |
3 |
275-4180
|
HOSE, VACUUM, 0.16ID X 001.6L (Tennant Industrial) |
$11.36
|
1 |
|
usually ships 1-5 days |
4 |
275-4181
|
FITTING, BRS, STR, BM03/BM03, BH (Tennant Industrial) |
$5.67
|
1 |
|
usually ships 1-5 days |
5 |
275-4182
|
Fan mounting box (OBSOLETE) |
$93.94
|
1 |
|
usually ships 1-5 days |
6 |
N/A
|
Not available |
Call for price
|
1 |
(vacuum fan gasket) |
usually ships 3-26 days |
7 |
997-2003
|
Hose clamp |
$2.66
|
1 |
|
ships same day |
8 |
275-5200
|
36V 3 stage vacuum motor kit |
$361.24
|
2 |
|
usually ships 3-26 days |
9 |
164-0881
|
Vacuum motor gasket |
$15.64
|
2 |
|
ships same day |
10 |
N/A
|
Not available |
Call for price
|
6 |
(tube) |
usually ships 3-26 days |
11 |
175-5205
|
Wormdrive hose clamp |
$7.37
|
1 |
|
usually ships 1-5 days |
12 |
275-4184
|
HOSE ASSY, W/1CUFF, 3.0D 041L 3.0/ (Tennant Industrial) |
$103.87
|
1 |
|
usually ships 1-5 days |
13 |
275-4185
|
FLAP, CONTAINMENT (Tennant Industrial) |
$73.51
|
1 |
|
usually ships 1-5 days |
14 |
175-2226
|
Nylon wire tie |
$4.49
|
3 |
|
ships same day |
15 |
N/A
|
Not available |
Call for price
|
1 |
(hose) |
usually ships 3-26 days |
16 |
275-4187
|
Vacuum hose (Tennant Industrial) (OBSOLETE) |
$34.80
|
1 |
|
usually ships 1-5 days |