| # | Part | Description | Price | Req | Notes | Availability |
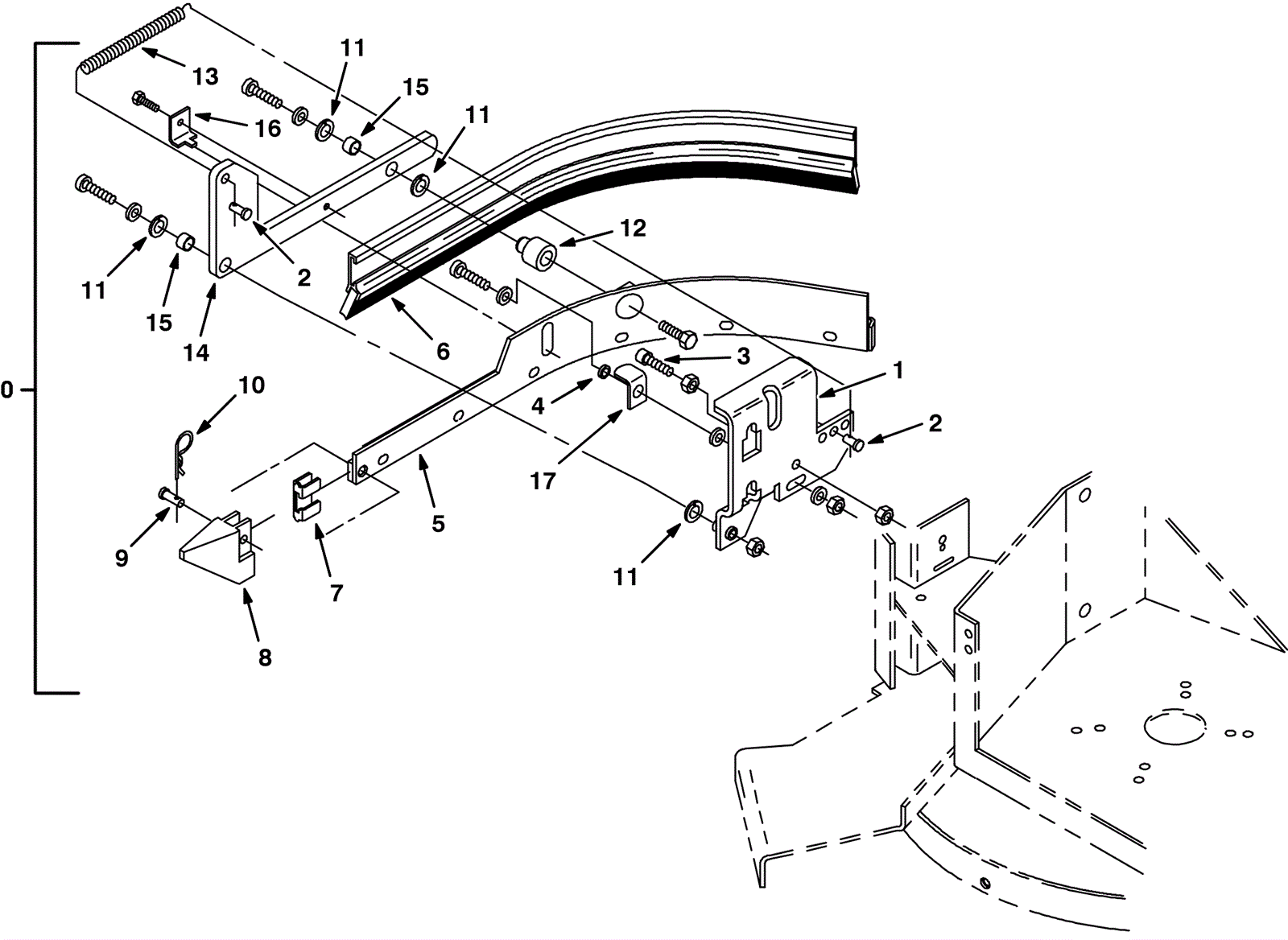
0 |
275-2192
|
SQUEEGEE ASSY, SIDE, RH (Tennant Industrial) |
$1,083.83
|
1 |
(includes 1-17) |
usually ships 1-5 days |
1 |
275-2193
|
BRACKET WLDT, SQGE, RH (Tennant Industrial) |
$180.36
|
1 |
|
usually ships 1-5 days |
2 |
275-0146
|
PIN, CLEVIS, 0.37D X 0.75L (Tennant Industrial) |
$5.67
|
2 |
|
usually ships 10-13 days |
3 |
175-6821
|
SCREW, SOC, M8 X 1.25 X 35, 12.9 (Tennant Industrial) |
$5.64
|
1 |
|
ships same day |
4 |
275-2194
|
SPACER (Tennant Industrial) |
$27.22
|
1 |
|
usually ships 1-5 days |
5 |
275-2195
|
FRAME WLDT, SQGE, SIDE, RH (Tennant Industrial) |
$439.21
|
1 |
|
usually ships 10-13 days |
6 |
175-3343
|
Side squeegee blade linatex |
$70.40
|
1 |
|
ships same day |
7 |
175-3357
|
Squeegee blade retainer |
$12.10
|
1 |
|
usually ships 10-13 days |
8 |
275-2196
|
GUIDE, SQGE, SIDE (Tennant Industrial) (OBSOLETE) |
$86.84
|
1 |
|
usually ships 10-13 days |
9 |
175-3351
|
Clevis pin |
$4.49
|
1 |
|
usually ships 10-13 days |
10 |
175-2117
|
Cotter pin |
$5.28
|
1 |
|
usually ships 10-13 days |
11 |
175-3354
|
Thrust washer |
$10.67
|
4 |
|
usually ships 10-13 days |
12 |
275-2197
|
BAR, RND, PIVOT, MTG, SQGE (Tennant Industrial) (OBSOLETE) |
$258.85
|
1 |
|
usually ships 10-13 days |
13 |
175-3345
|
Extension spring |
$10.01
|
1 |
|
ships same day |
14 |
275-2198
|
BELLCRANK, LIFT, SQGE, SIDE (Tennant Industrial) |
$158.15
|
1 |
|
usually ships 1-5 days |
15 |
175-3355
|
Sleeved bushing |
$7.37
|
2 |
|
usually ships 10-13 days |
16 |
275-2199
|
Stop angle (Tennant Industrial) |
$49.60
|
1 |
|
usually ships 1-5 days |
17 |
275-2200
|
ANGLE, MTG, STL, .18 1.3 1.0 00.8L (Tennant Industrial) |
$59.62
|
1 |
|
usually ships 1-5 days |