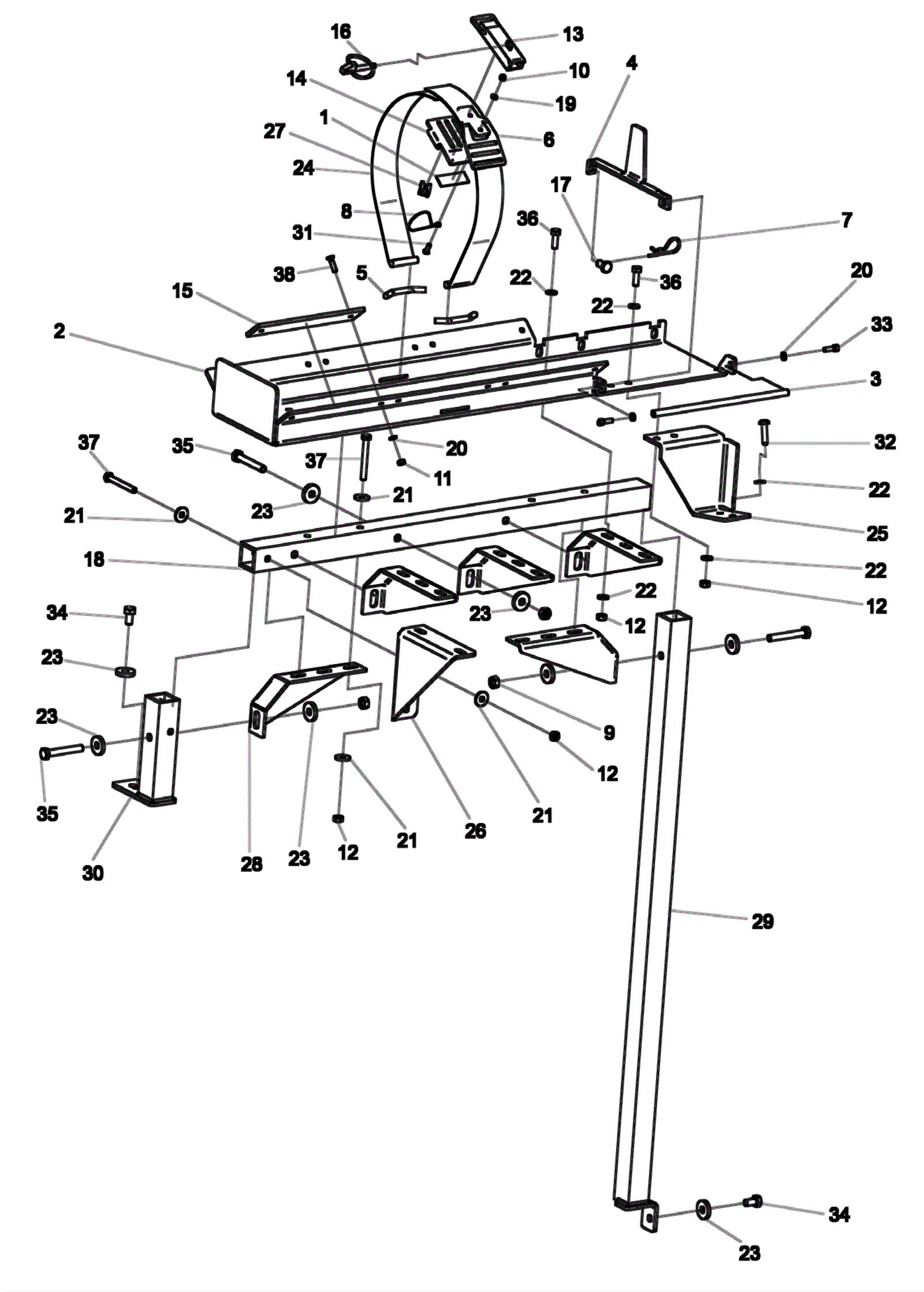
| # | Part | Description | Price | Req | Notes | Availability |
1 |
373-4188
|
Safety lock decal |
$27.72
|
1 |
|
usually ships 11-15 days |
2 |
373-4172
|
Gas bottle bracket |
Call for price
|
1 |
|
usually ships 11-15 days |
3 |
373-4173
|
Threaded rod |
Call for price
|
1 |
|
usually ships 11-15 days |
4 |
373-4174
|
Stop |
Call for price
|
1 |
|
usually ships 11-15 days |
5 |
373-4175
|
Bolt |
Call for price
|
5 |
|
usually ships 11-15 days |
6 |
373-4176
|
Sheet metal component |
Call for price
|
1 |
|
usually ships 11-15 days |
7 |
373-4177
|
Spring clip |
$7.89
|
1 |
|
usually ships 11-15 days |
8 |
373-4189
|
Rope with loops |
$4.95
|
1 |
|
usually ships 11-15 days |
9 |
273-5855
|
Nut M10 hex |
$1.90
|
5 |
|
usually ships 11-15 days |
10 |
999-0740
|
Nut M5-.8 hex stainless steel |
$0.99
|
2 |
|
ships same day |
11 |
183-0262
|
Hex nut |
$1.54
|
12 |
|
usually ships 1-5 days |
12 |
999-1651
|
Nut M8-1 hex stainless steel |
$2.83
|
16 |
|
ships same day |
13 |
373-4190
|
Fastener snap |
$33.03
|
1 |
|
usually ships 11-15 days |
14 |
373-4178
|
Hook sheet metal component |
Call for price
|
1 |
|
usually ships 11-15 days |
15 |
373-4179
|
Slide bar plastics |
Call for price
|
6 |
|
usually ships 11-15 days |
16 |
373-4191
|
Linch pin |
$2.51
|
1 |
|
usually ships 11-15 days |
17 |
373-4180
|
Bolt |
Call for price
|
1 |
|
usually ships 11-15 days |
18 |
373-4181
|
Center profile |
Call for price
|
1 |
|
usually ships 11-15 days |
19 |
173-9042
|
Washer #5 |
$1.63
|
2 |
|
usually ships 11-15 days |
20 |
273-7480
|
Washer 6 |
$4.87
|
14 |
|
usually ships 1-5 days |
21 |
273-8187
|
Washer |
$1.20
|
12 |
|
usually ships 11-15 days |
22 |
999-0150
|
Washer #8 medium split lock |
$0.99
|
22 |
|
ships same day |
23 |
373-3661
|
Washer |
$5.50
|
12 |
|
usually ships 11-15 days |
24 |
373-4182
|
Bolt set |
Call for price
|
2 |
|
usually ships 11-15 days |
25 |
373-4183
|
Right hand stay |
Call for price
|
1 |
|
usually ships 11-15 days |
26 |
373-4184
|
Left hand stay |
Call for price
|
1 |
|
usually ships 11-15 days |
27 |
373-4192
|
Holder |
$2.27
|
1 |
|
usually ships 11-15 days |
28 |
373-4185
|
Angle support |
Call for price
|
5 |
|
usually ships 11-15 days |
29 |
373-4186
|
Right hand bracket |
Call for price
|
1 |
|
usually ships 11-15 days |
30 |
373-4187
|
Left hand bracket |
Call for price
|
1 |
|
usually ships 11-15 days |
31 |
183-0261
|
Screw (obsolete) |
$4.53
|
2 |
|
usually ships 1-5 days |
32 |
373-1666
|
Screw M8 x 35mm |
$8.47
|
2 |
|
usually ships 11-15 days |
33 |
999-1320
|
Screw M6-1 x 20mm socket head stainless steel |
$0.99
|
2 |
|
ships same day |
34 |
273-9257
|
Screw M10 x 20 hex head |
$2.09
|
2 |
|
usually ships 11-15 days |
35 |
999-1321
|
Screw M10-1.5 x 70mm hex head stainless steel |
$5.57
|
5 |
|
usually ships 1-5 days |
36 |
183-4164
|
Screw, hex head (Obsolete) |
$4.49
|
10 |
|
usually ships 1-5 days |
37 |
999-9078
|
Screw M8 x 70mm hex head |
$1.27
|
6 |
|
usually ships 1-5 days |
38 |
273-0327
|
Screw M6 x 25 countersunk |
$2.31
|
12 |
|
usually ships 11-15 days |