| # | Part | Description | Price | Req | Notes | Availability |
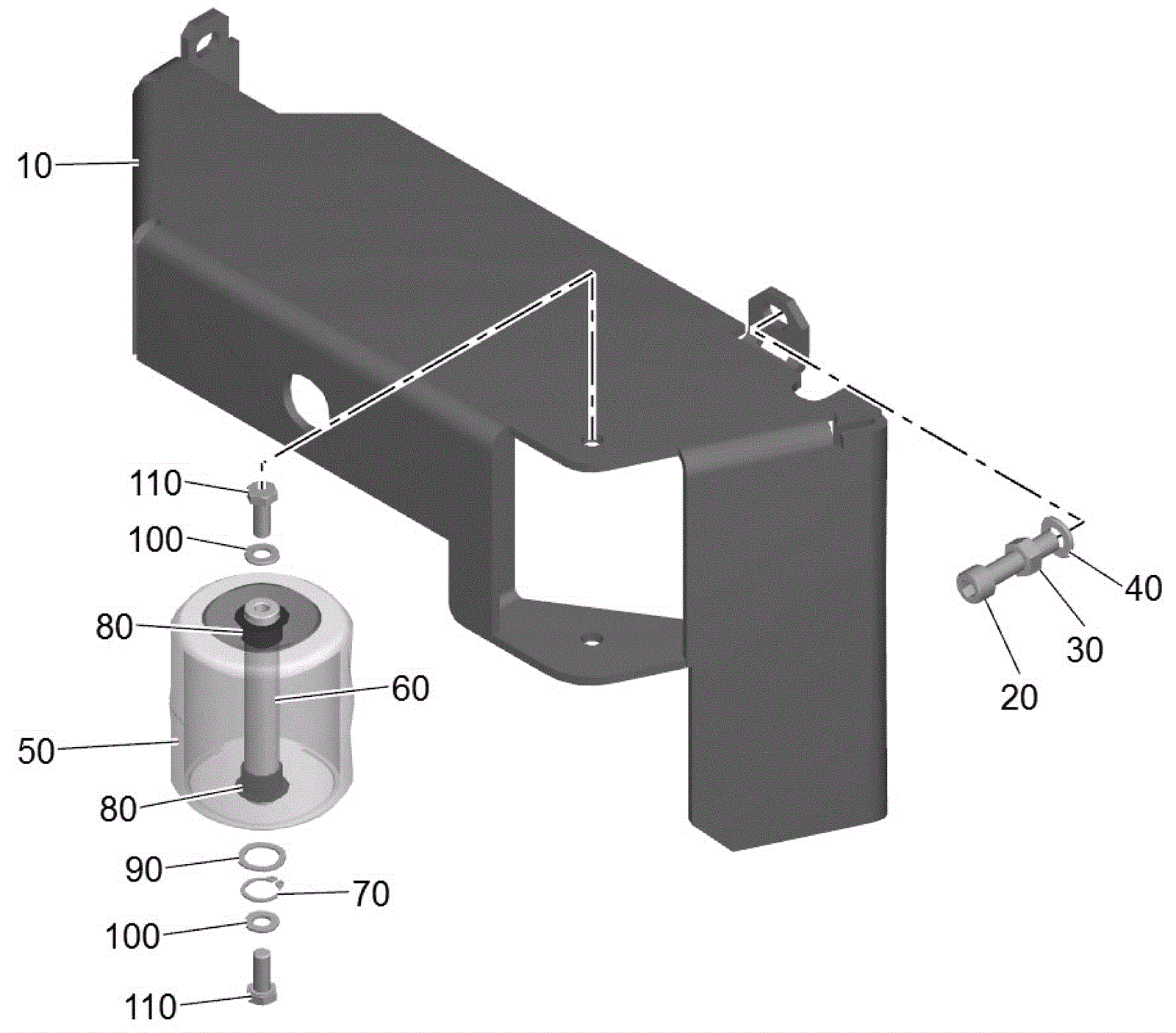
10 |
373-1883
|
Ram protection lateral assembly |
Call for price
|
1 |
|
usually ships 11-15 days |
20 |
999-1429
|
Bolt M10-1.5 x 60mm hex head stainless steel |
$4.50
|
1 |
|
ships same day |
30 |
273-5855
|
Nut M10 hex |
$1.90
|
1 |
|
usually ships 11-15 days |
40 |
273-6016
|
Washer |
$2.26
|
1 |
|
usually ships 11-15 days |
50 |
373-1884
|
Deflector roll |
Call for price
|
1 |
|
usually ships 11-15 days |
60 |
373-1885
|
Deflector roll bolt |
Call for price
|
1 |
|
usually ships 11-15 days |
70 |
173-6200
|
Locking ring 16 x 1 |
$6.89
|
1 |
|
usually ships 11-15 days |
80 |
183-4078
|
Bearing bush |
$3.89
|
2 |
|
usually ships 14-19 days |
90 |
373-1886
|
Shim ring |
$0.99
|
1 |
|
usually ships 11-15 days |
100 |
999-9097
|
Washer M8 flat stainless steel |
$0.99
|
2 |
|
ships same day |
110 |
999-9092
|
Screw M8-1.25 x 20mm hex head stainless steel |
$2.79
|
2 |
|
ships same day |