| # | Part | Description | Price | Req | Notes | Availability |
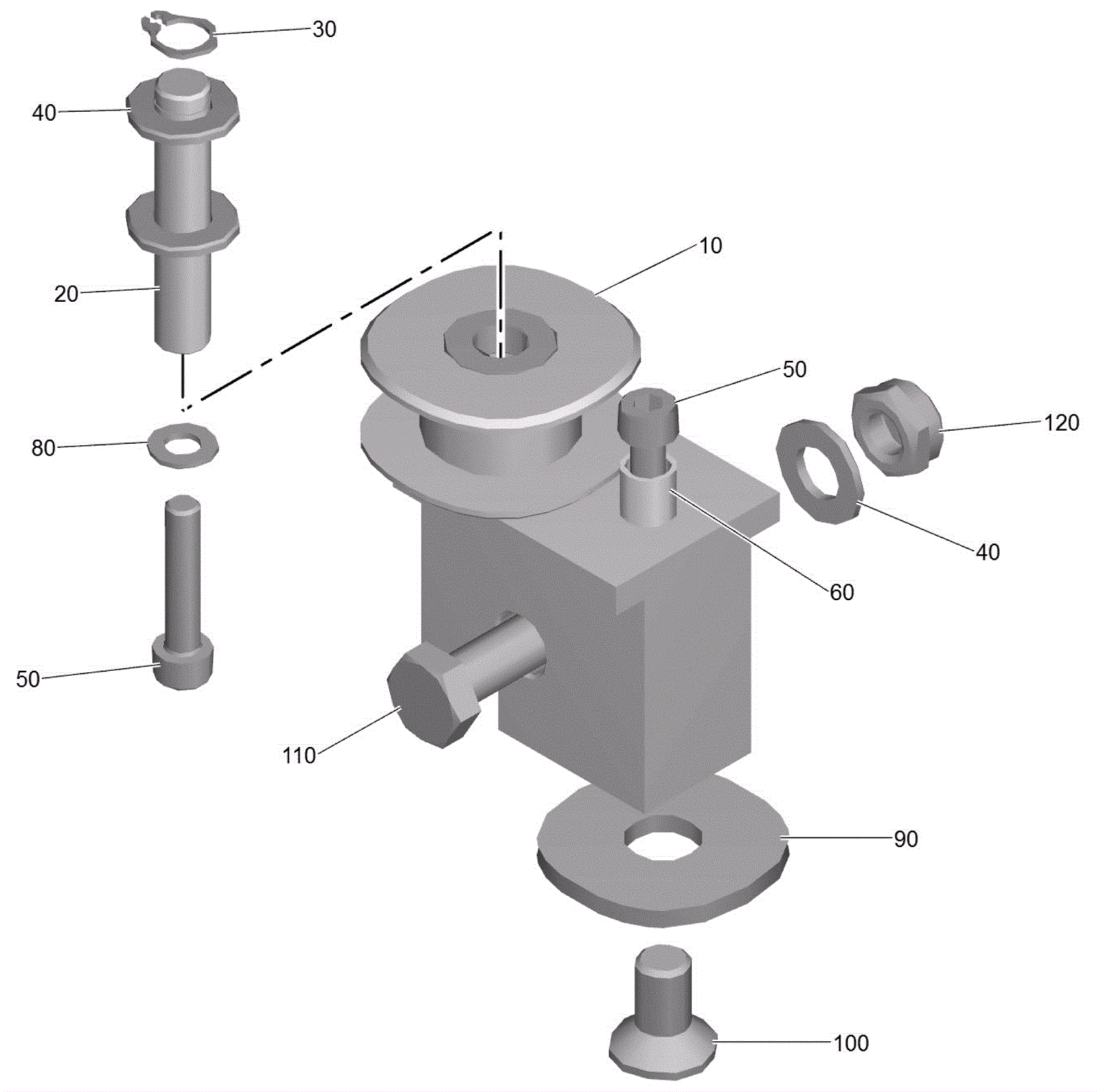
10a |
373-1879
|
Deflection pullley |
$54.59
|
1 |
|
usually ships 11-15 days |
10b |
373-1882
|
Deflection pulley |
Call for price
|
1 |
|
usually ships 11-15 days |
10c |
183-4094
|
Ball bearing |
$24.19
|
2 |
|
usually ships 1-5 days |
20 |
373-1880
|
Deflection pulley bolt |
Call for price
|
1 |
|
usually ships 11-15 days |
30 |
173-6304
|
Locking ring |
$6.01
|
1 |
|
usually ships 11-15 days |
40 |
999-9097
|
Washer M8 flat stainless steel |
$0.99
|
3 |
|
ships same day |
50 |
373-1881
|
Cylinder head screw |
Call for price
|
2 |
|
usually ships 11-15 days |
60 |
273-7484
|
Sleeve |
$8.12
|
1 |
|
usually ships 1-5 days |
80 |
999-9100
|
Washer M5 flat stainless steel |
$5.83
|
1 |
|
ships same day |
90 |
273-8343
|
Washer |
$2.19
|
1 |
|
usually ships 11-15 days |
100 |
273-5822
|
Screw M8 x 16mm countersunk |
$3.25
|
1 |
|
usually ships 1-5 days |
110 |
273-8130
|
Screw M8 x 45 hex head |
$6.53
|
1 |
|
usually ships 11-15 days |
120 |
183-0341
|
Hex nut |
$1.63
|
1 |
|
usually ships 1-5 days |