B 250 R
Set Plug Assembly-Model 1.480-231.2
Click to enlarge
#
Part
Description
Price
Req
Notes
Availability
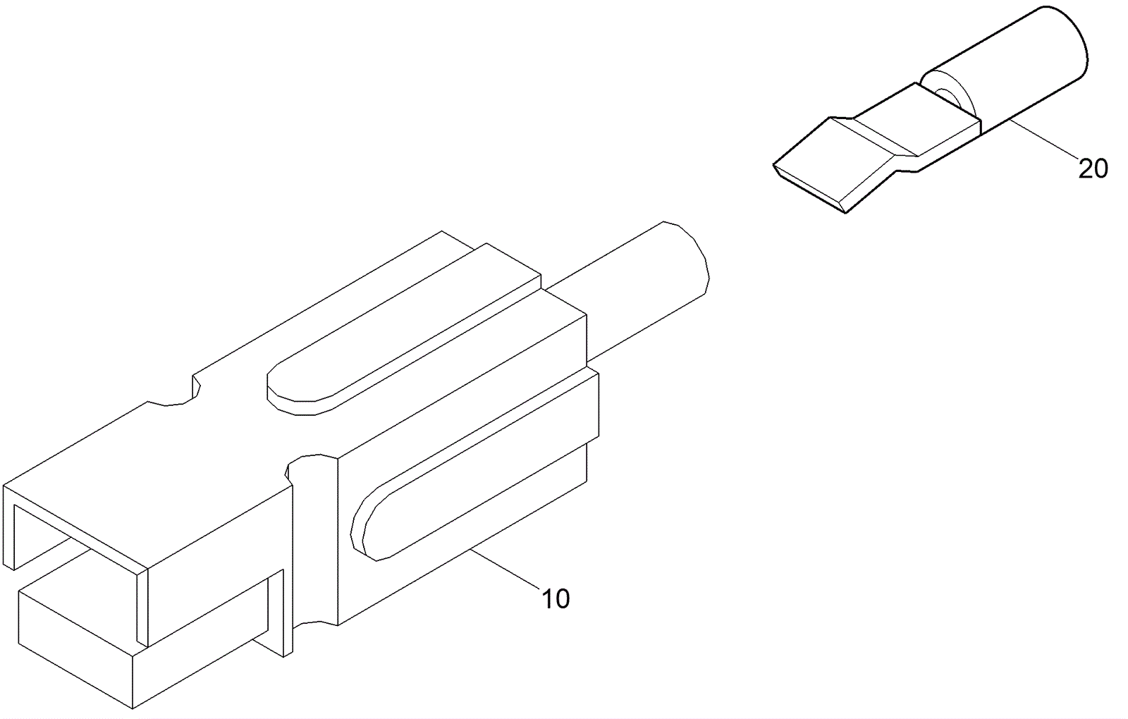
10a
273-8608
Plug housing (blue)
$15.07
1
(blue)
usually ships 11-15 days
10b
273-8607
Plug housing (red)
$15.07
1
(red)
usually ships 11-15 days
20
373-1809
Plug contact
Call for price
1
usually ships 11-15 days