# | Part | Description | Price | Req | Notes | Availability |
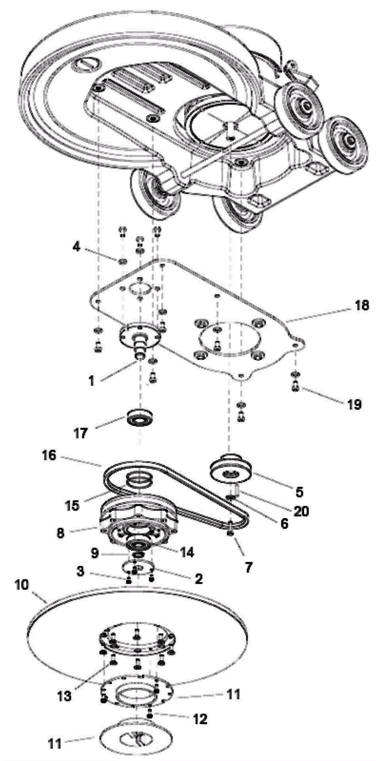
1 |
173-4757
|
Pad driver axle |
$49.43
|
1 |
|
usually ships 11-15 days |
2 |
173-4751
|
Bearing cover (OBSOLETE) |
$6.77
|
1 |
|
usually ships 11-15 days |
3 |
173-4749
|
Screw M4-.7 x 8mm pan head phillips |
$1.45
|
3 |
|
usually ships 11-15 days |
4 |
999-1267
|
Washer M8 flat zinc |
$0.99
|
10 |
|
ships same day |
5 |
173-4742
|
Pulley |
$45.08
|
1 |
|
usually ships 11-15 days |
6 |
173-4743
|
Washer M6 pleated |
$3.45
|
1 |
|
usually ships 1-5 days |
7 |
999-1032
|
Screw 1/4-20 x 5/8 hex head stainless steel |
$0.99
|
1 |
|
ships same day |
8 |
173-4747
|
Burnisher pulley |
$151.83
|
1 |
|
usually ships 11-15 days |
9 |
173-4748
|
External snap ring (OBSOLETE) |
$0.99
|
1 |
|
usually ships 11-15 days |
10 |
173-4752
|
20 inch flex pad driver |
$402.53
|
1 |
|
usually ships 11-15 days |
11 |
991-2205
|
Deep lock ring and pad grip ring |
$32.00
|
1 |
|
usually ships 19-25 days |
12 |
173-4754
|
Screw #10 x 3/8 pan head phillips standard type b |
$1.90
|
3 |
|
usually ships 11-15 days |
13 |
173-2753
|
Screw 1/4-20 x 3/4 flat head cap screw |
$1.34
|
8 |
|
usually ships 11-15 days |
14 |
173-4750
|
Bearing |
$45.55
|
1 |
|
usually ships 11-15 days |
15 |
173-4746
|
Internal snap ring |
$11.89
|
2 |
|
usually ships 11-15 days |
16 |
173-4745
|
38 inch drive belt |
$48.73
|
1 |
|
ships same day |
17 |
173-4756
|
Bearing |
$45.90
|
1 |
|
usually ships 11-15 days |
18 |
273-1301
|
Motor mount plate |
$41.14
|
1 |
|
usually ships 11-15 days |
19 |
273-6361
|
Screw M8-1.25 x 15mm button head |
$0.99
|
10 |
|
usually ships 1-5 days |
20 |
273-5014
|
Motor key (OBSOLETE) |
Call for price
|
1 |
|
usually ships 11-15 days |