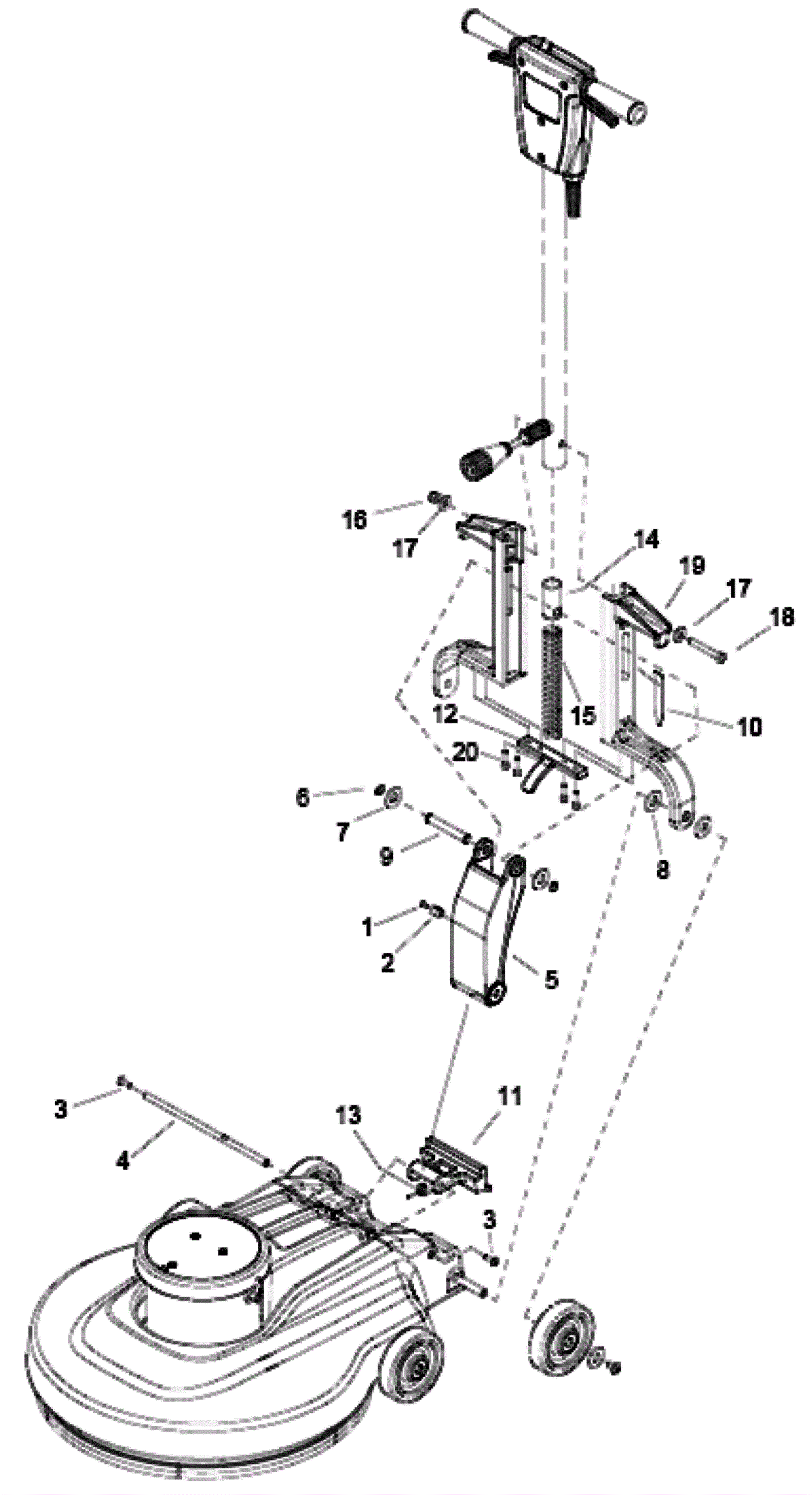
| # | Part | Description | Price | Req | Notes | Availability | 
|---|
          
            
            
                
                  
                  
                  
				       
				      1 | 999-1090 | Screw M5-.8 x 10mm pan head phillips zinc plated | $0.99 | 1 |  | ships same day | 2 | 173-2094 | P clamp | $1.63 | 1 |  | usually ships 1-5 days | 3 | 273-5007 | Screw | $0.99 | 2 |  | usually ships 11-15 days | 4 | 273-5008 | Lever axle | $9.89 | 1 |  | usually ships 11-15 days | 5 | 173-9004 | Handle link bracket | $75.92 | 1 |  | usually ships 1-5 days | 6 | 173-9005 | External snap ring | $1.98 | 2 |  | usually ships 11-15 days | 7 | 999-0972 | Washer M14 flat | $3.22 | 2 |  | usually ships 11-15 days | 8 | 999-0972 | Washer M14 flat | $3.22 | 2 |  | usually ships 11-15 days | 9 | 173-9006 | Linkage spacer | $14.83 | 1 |  | usually ships 11-15 days | 10 | 173-7438 | Handle release decal (OBSOLETE) | Call for price | 1 |  | usually ships 1-5 days | 11 | 173-9007 | Handle latch (OBSOLETE) | $49.28 | 1 |  | usually ships 11-15 days | 12 | 173-9015 | Latch striker | $40.84 | 1 |  | usually ships 11-15 days | 13 | 173-9008 | Torsion spring | $15.53 | 1 |  | usually ships 11-15 days | 14 | 173-9009 | Compression spring block | $22.72 | 1 | (grease contact surfaces when servicing) | usually ships 1-5 days | 15 | 173-9010 | Compression spring | $38.14 | 1 | (grease contact surfaces when servicing) | usually ships 1-5 days | 16 | 173-3869 | Nut 3/8-16 hex nylock (OBSOLETE) | $1.03 | 1 |  | usually ships 11-15 days | 17 | 373-1106 | Washer | $0.99 | 2 |  | usually ships 11-15 days | 18 | 173-9011 | Screw 3/8-16 x 3 hex head cap screw | $4.88 | 1 |  | usually ships 1-5 days | 19 | 173-9012 | Handle mount bracket | $243.64 | 2 |  | usually ships 11-15 days | 20 | 173-9014 | Screw M6 x 30 cap plated | $6.24 | 4 |  | usually ships 11-15 days |