| # | Part | Description | Price | Req | Notes | Availability |
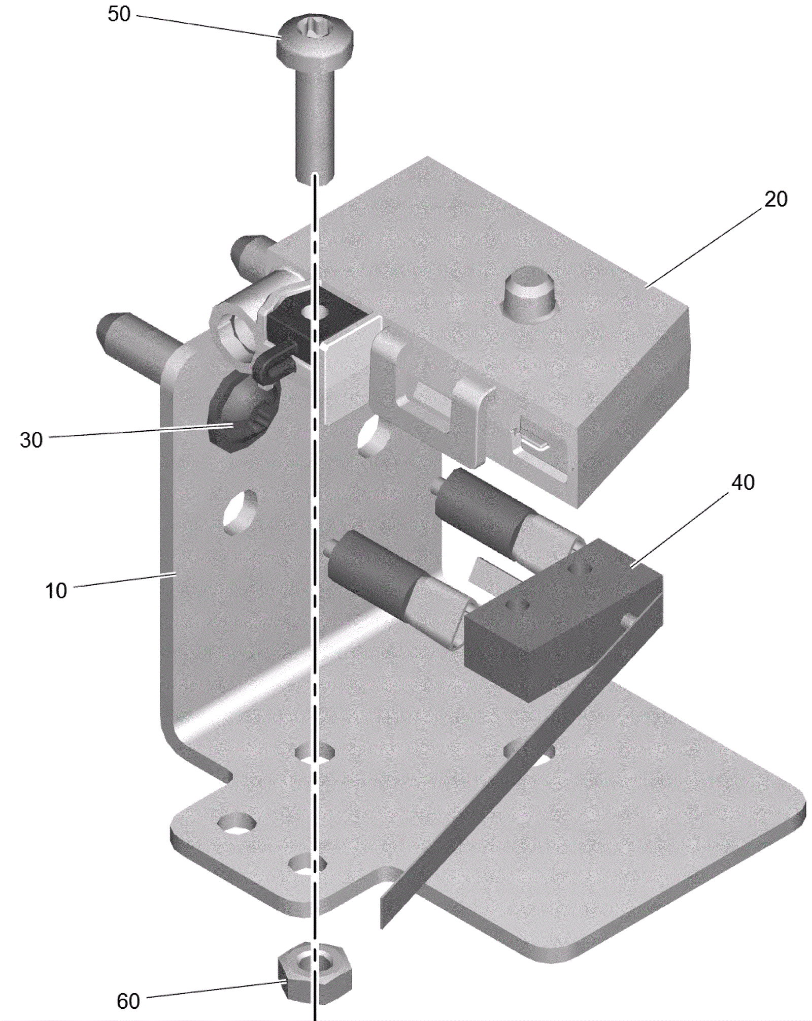
10 |
373-9445
|
Switch holder plate |
$2.16
|
1 |
|
usually ships 11-15 days |
20 |
173-9088
|
Mircro switch housing |
$42.72
|
1 |
|
usually ships 1-5 days |
30 |
173-6202
|
Screw M5 x 20mm |
$1.20
|
2 |
|
ships same day |
40 |
373-9446
|
Micro switch |
$72.05
|
1 |
|
usually ships 13-18 days |
50 |
373-3162
|
Screw M4 x 16 |
$0.99
|
1 |
|
usually ships 11-15 days |
60 |
999-1619
|
Nut M4 hex stainless steel |
$0.99
|
1 |
|
usually ships 16-20 days |