| # | Part | Description | Price | Req | Notes | Availability |
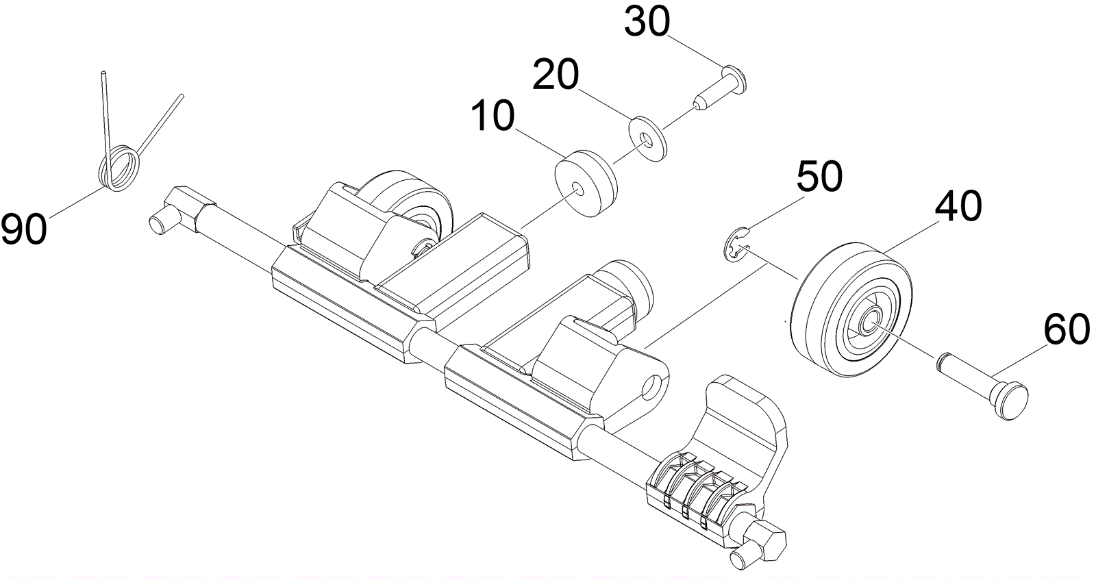
10 |
273-9063
|
Foot stand |
$37.66
|
2 |
|
usually ships 11-15 days |
20 |
999-9100
|
Washer M5 flat stainless steel |
$5.83
|
2 |
|
ships same day |
30 |
173-6202
|
Screw M5 x 20mm |
$1.20
|
2 |
|
ships same day |
40 |
273-9064
|
Wheel |
$17.89
|
2 |
|
usually ships 11-15 days |
50 |
173-6209
|
Lock washer |
$2.26
|
2 |
|
usually ships 11-15 days |
60 |
273-9065
|
Axle |
$34.61
|
2 |
|
usually ships 11-15 days |
90 |
273-9066
|
Leg spring |
$16.60
|
1 |
|
usually ships 11-15 days |