| # | Part | Description | Price | Req | Notes | Availability |
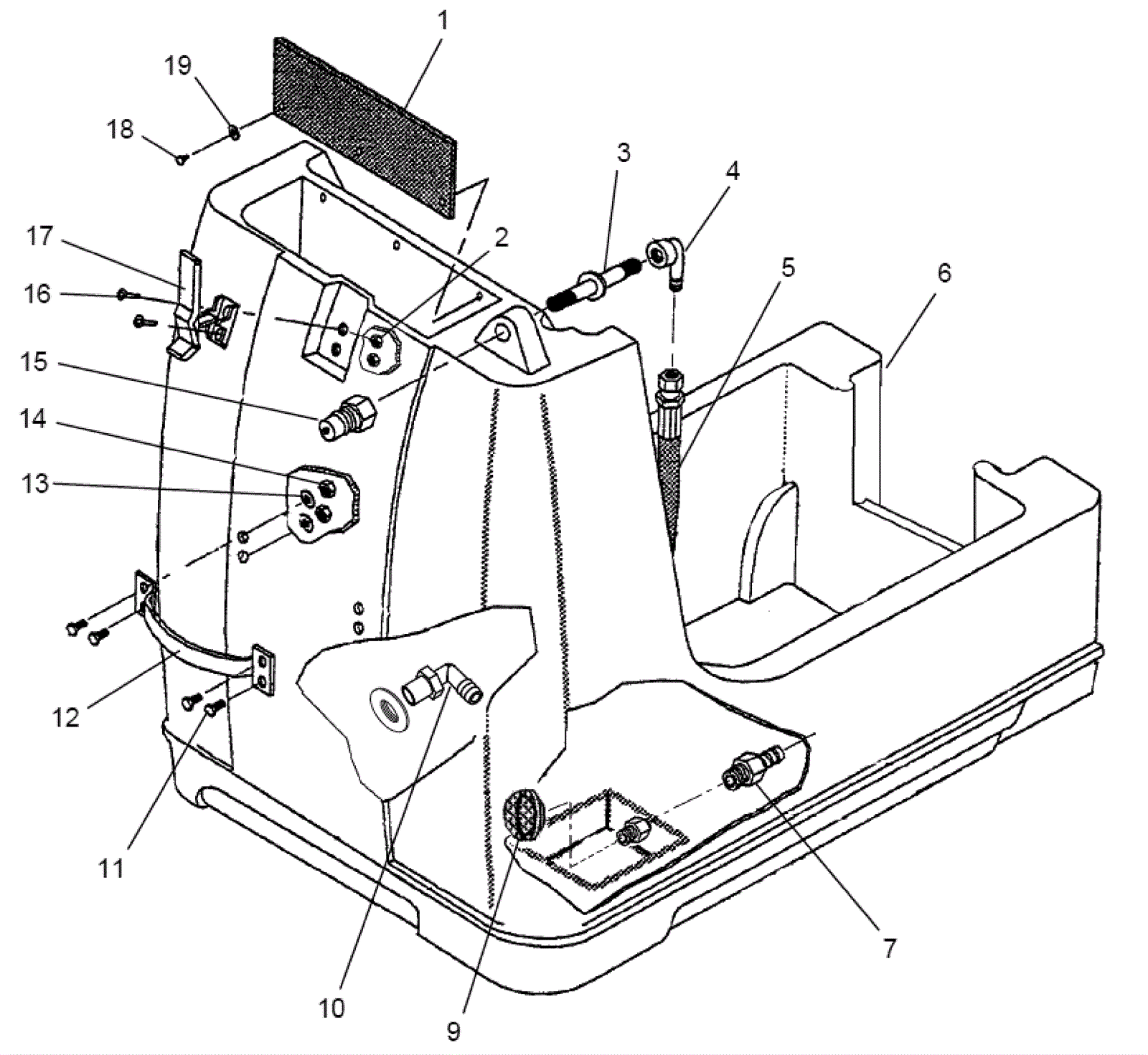
1 |
273-7657
|
Splash shield |
$14.52
|
1 |
|
usually ships 11-15 days |
3 |
273-7658
|
Nipple assembly |
$48.07
|
1 |
|
usually ships 11-15 days |
4 |
173-4943
|
Elbow 1/4 x 1/4 |
$16.60
|
1 |
|
usually ships 1-5 days |
5 |
273-7659
|
Hose HP 42 |
$102.30
|
1 |
|
usually ships 11-15 days |
6 |
N/A
|
Not available |
Call for price
|
1 |
Solution tank(obsolete with no replacement) |
usually ships 3-26 days |
7 |
173-8669
|
Nylon hosebarb npt 1/4 X 3/8 |
$3.56
|
2 |
|
usually ships 11-15 days |
9 |
173-8670
|
Solution screen w/ rub base (OBSOLETE) |
$3.04
|
1 |
|
usually ships 11-15 days |
10 |
173-1072
|
Hosebarb 3/8 x 1/2 inch |
$9.89
|
1 |
|
usually ships 11-15 days |
11 |
173-1072
|
Hosebarb 3/8 x 1/2 inch |
$9.89
|
4 |
|
usually ships 11-15 days |
12 |
273-7661
|
Machine handle (black) |
$29.26
|
1 |
|
usually ships 11-15 days |
13 |
173-7263
|
Washer seal 1/4 x 5/8 stainless steel |
$2.19
|
4 |
|
usually ships 1-5 days |
14 |
999-0294
|
Nut 1/4-20 hex nylon lock type NE stainless steel |
$1.18
|
4 |
|
ships same day |
15 |
991-8150
|
1/4 inch BH2-61 male nipple (mate to QD80) |
$12.21
|
1 |
|
ships same day |
16 |
999-0916
|
Screw 8-32 x 1/2 pan head phillips stainless steel |
$0.99
|
2 |
|
ships same day |
17 |
173-8288
|
Latch |
$39.44
|
1 |
|
ships same day |
18 |
173-5434
|
Screw 8-32 x 1/2 pan head phillips stainless steel |
$1.32
|
3 |
|
usually ships 8-14 days |
19 |
173-4807
|
Washer #10 flat pleated (OBSOLETE) |
$0.99
|
3 |
|
usually ships 11-15 days |