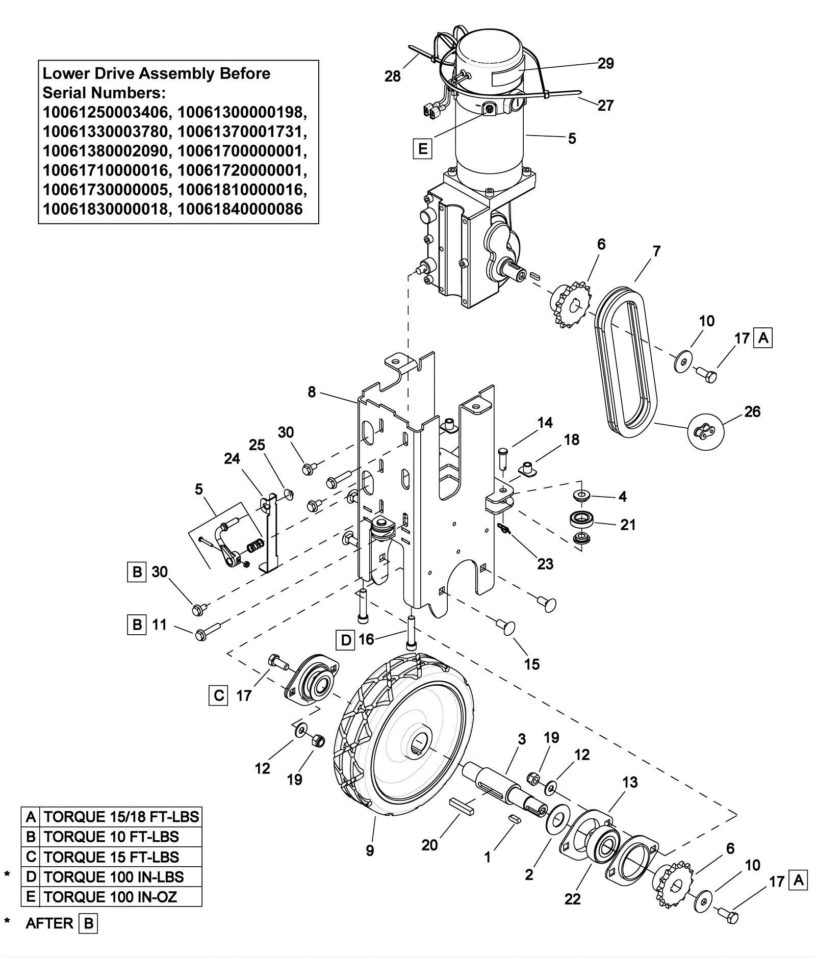
| # | Part | Description | Price | Req | Notes | Availability |
1 |
173-5974
|
Square keyway |
$6.01
|
1 |
|
usually ships 11-15 days |
2 |
173-5975
|
Washer |
$8.83
|
2 |
|
usually ships 11-15 days |
3 |
173-5976
|
Drive wheel axle |
$19.06
|
1 |
|
usually ships 11-15 days |
4 |
173-5977
|
Bearing sleeve |
$12.12
|
6 |
|
usually ships 11-15 days |
5a |
273-6645
|
Traction motor |
$1,140.51
|
1 |
(to install with brake and lower harnesses you will also need 5d |
usually ships 11-15 days |
5b |
273-3589
|
Drive motor carbon brush kit |
$61.20
|
1 |
(includes 5e and 5f) |
usually ships 11-15 days |
5c |
273-6511
|
Brake replacement kit |
$384.88
|
1 |
|
usually ships 11-15 days |
5d |
273-6509
|
Traction motor and harness kit |
$987.50
|
1 |
|
usually ships 11-15 days |
5e |
273-3589
|
Drive motor carbon brush kit |
$61.20
|
1 |
(for ccl traction motor) |
usually ships 11-15 days |
5f |
273-7621
|
Carbon brush set |
$18.60
|
1 |
(for linix traction motor) |
usually ships 11-15 days |
6 |
173-5980
|
Drive sprocket |
$81.21
|
2 |
|
usually ships 11-15 days |
7 |
173-5981
|
Pitch chain |
$45.20
|
1 |
|
usually ships 11-15 days |
8 |
173-5982
|
Lower drive frame |
$453.15
|
1 |
|
usually ships 1-5 days |
9 |
173-5983
|
Wheel |
$301.31
|
1 |
|
ships same day |
10 |
999-1364
|
Washer 5/16 x 1 fender zinc finish |
$0.99
|
3 |
|
ships same day |
11 |
273-6686
|
Screw M6 X 30mm hex head flange |
$15.65
|
2 |
|
usually ships 1-5 days |
12 |
999-0549
|
Washer 5/16 x 3/4 SAE flat stainless steel |
$0.99
|
4 |
|
ships same day |
13 |
173-3536
|
Flanged bearing |
$14.36
|
4 |
|
usually ships 11-15 days |
14 |
173-5985
|
Clevis pin 5/16 x 1 |
$5.50
|
3 |
|
usually ships 11-15 days |
15 |
999-0967
|
Bolt 5/16-18 x 3/4 carriage head stainless steel |
$2.16
|
4 |
|
ships same day |
16 |
999-0131
|
Screw 5/16-18 x 1 1/2 socket head stainless steel |
$2.86
|
2 |
(after SN 10061250003210, 100613000000167, 10061330003699, 10061340000193, 10061370001483, 10061380001681, 100617000000001, 10061710000002, 10061720000000, 10061730000001, 10061810000009, 100618200000038, 10061830000006, 10061840000016) |
ships same day |
17 |
999-1133
|
Bolt M8-1.25 x 20mm hex head full thread plain |
$0.99
|
3 |
|
ships same day |
18 |
273-6648
|
Nut weldment (OBSOLETE) |
$3.83
|
2 |
(after SN 10061250003210, 100613000000167, 10061330003699, 10061340000193, 10061370001483, 10061380001681, 100617000000001, 10061710000002, 10061720000000, 10061730000001, 10061810000009, 100618200000038, 10061830000006, 10061840000016) |
usually ships 11-15 days |
19 |
999-0423
|
Nut 5/16-18 nylon insert lock stainless steel |
$0.99
|
4 |
|
ships same day |
20 |
173-5987
|
Roller |
$15.18
|
1 |
|
usually ships 11-15 days |
21 |
173-5558
|
3/4 inch ball bearing |
$17.18
|
3 |
|
usually ships 11-15 days |
22 |
173-1480
|
Cotter ring |
$2.46
|
2 |
|
ships same day |
23 |
173-1480
|
Cotter ring |
$2.46
|
3 |
|
ships same day |
24 |
273-7104
|
Drive lever engagement |
$43.55
|
1 |
|
usually ships 1-5 days |
25 |
173-8413
|
Nut 1/4 cap |
$0.99
|
1 |
|
ships same day |
26 |
173-5565
|
Master link |
$23.89
|
1 |
|
usually ships 11-15 days |
27 |
173-3305
|
Cable tie |
$12.47
|
1 |
|
usually ships 1-5 days |
28 |
173-3169
|
Wire tie |
$1.20
|
2 |
|
usually ships 1-5 days |
29 |
273-6647
|
Tape closed cell |
$5.23
|
2 |
|
usually ships 1-5 days |
30 |
999-1801
|
Screw M6 X 12mm hex head flange |
$2.79
|
3 |
|
ships same day |