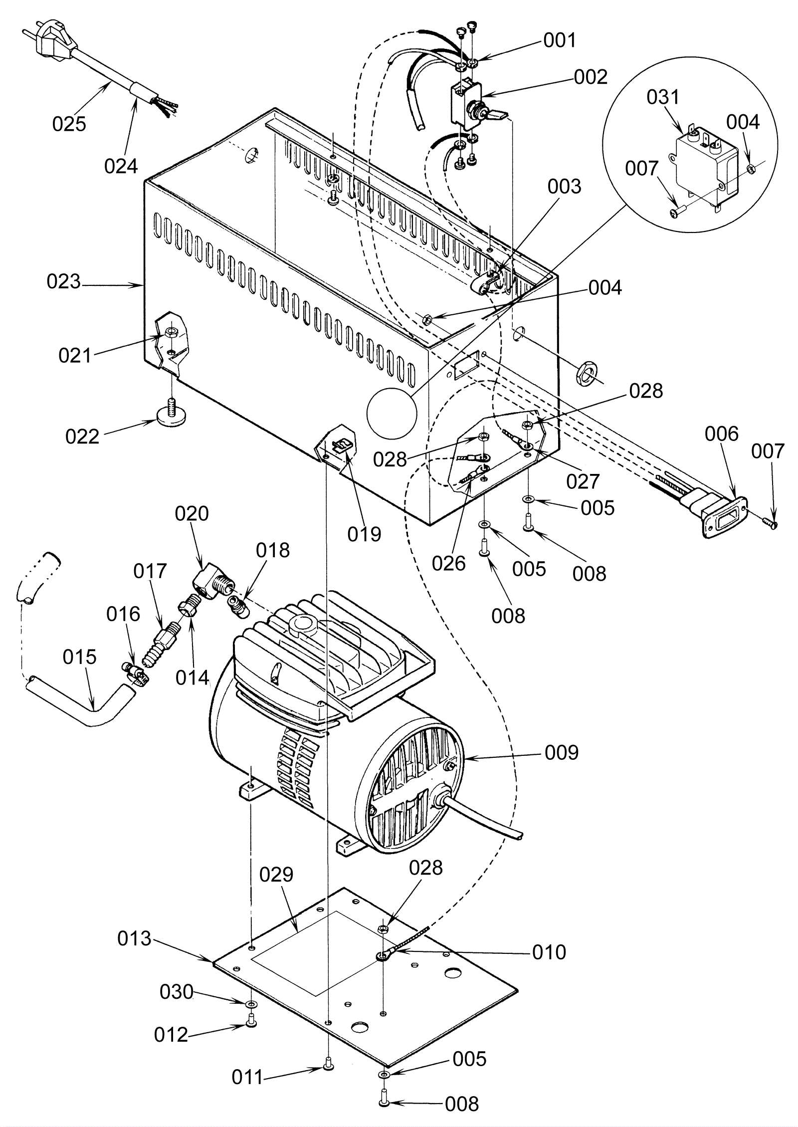
Compressor Assembly - SH120
Click to enlarge