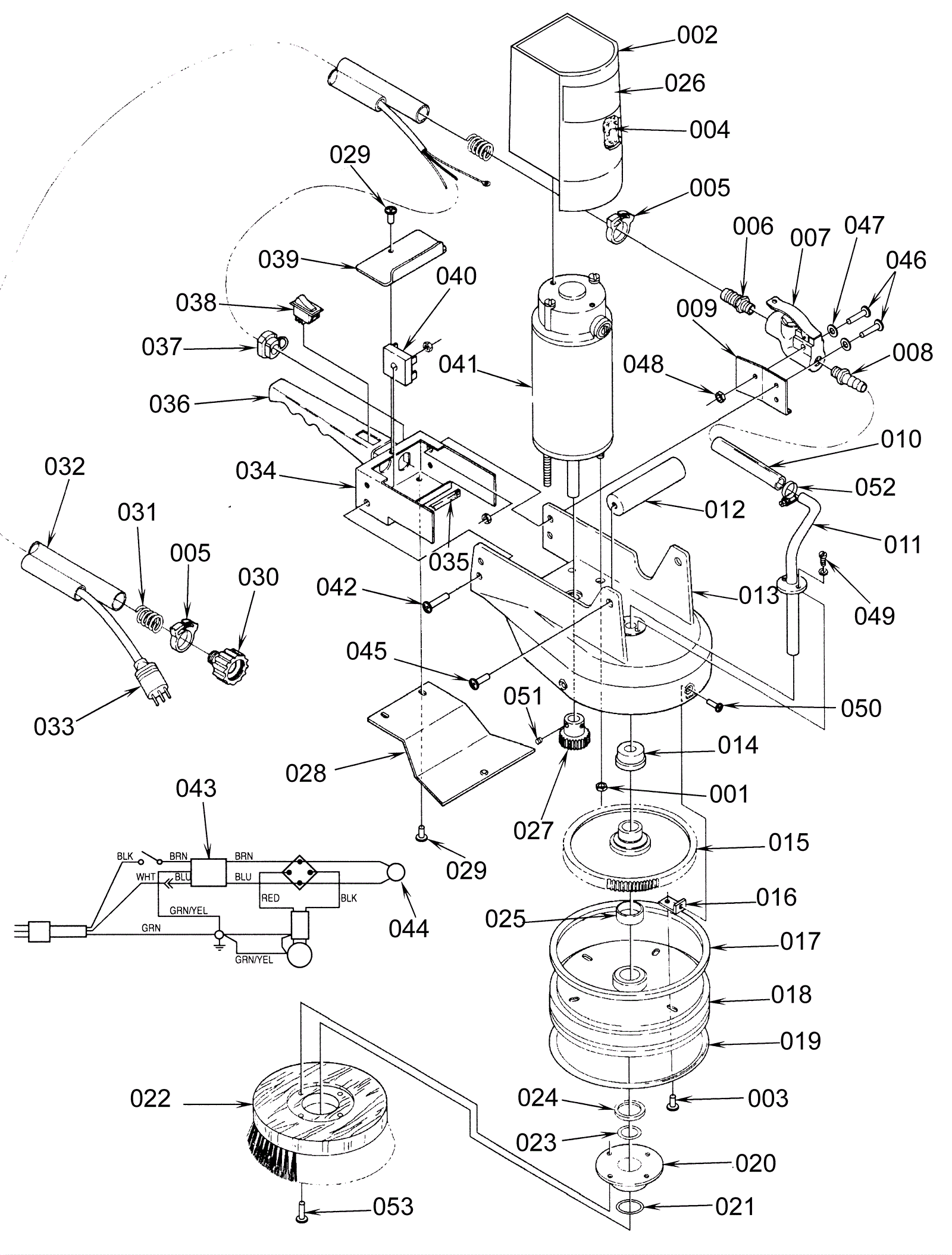
Power Head Assembly - SH120T and SH120
Click to enlarge