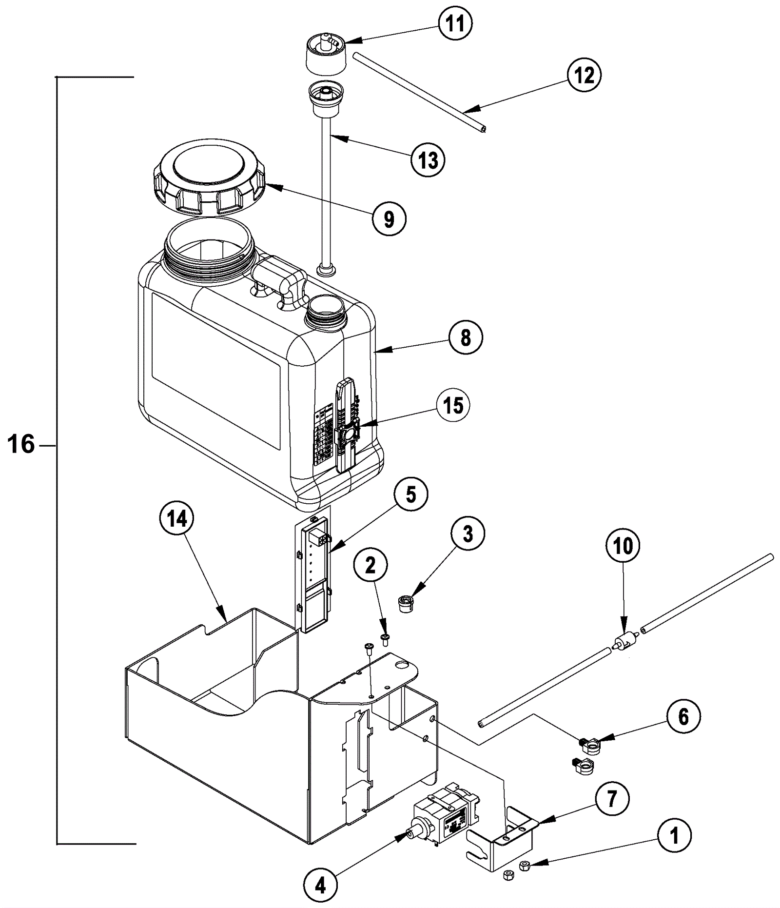
| # | Part | Description | Price | Req | Notes | Availability |
1 |
999-1036
|
Nut 8-32 hex NTM nylon insert jam lock stainless steel |
$0.99
|
2 |
|
ships same day |
2 |
999-1131
|
Screw 8-32 x 3/8 pan head phillips thread rolling SS |
$0.99
|
2 |
|
ships same day |
3 |
272-2174
|
Snub bushing |
$12.31
|
1 |
|
usually ships 1-5 days |
4 |
272-2175
|
Chemical pump |
$298.77
|
1 |
|
usually ships 13-18 days |
5 |
272-2176
|
Chemical sensor assembly |
$199.52
|
1 |
|
usually ships 1-5 days |
6 |
272-2177
|
Conduit clip |
$12.31
|
2 |
|
usually ships 13-18 days |
7 |
272-2178
|
Chemical pump bracket |
$14.91
|
1 |
|
usually ships 1-5 days |
8 |
272-2179
|
Chemical bottle assembly |
$95.66
|
1 |
|
usually ships 13-18 days |
9 |
272-2180
|
Solution fill cap |
$7.67
|
1 |
|
ships same day |
10 |
272-2181
|
Check valve |
$12.31
|
1 |
|
ships same day |
11 |
272-2182
|
Dry break cap |
$34.14
|
1 |
|
ships same day |
12 |
272-2183
|
7 inch chemical resistant hose |
$10.85
|
3 |
|
ships same day |
13 |
272-2184
|
Dry break insert |
$13.76
|
1 |
|
ships same day |
14 |
272-2185
|
Tank mounting bracket |
$124.59
|
1 |
|
usually ships 1-5 days |
15 |
272-2346
|
Indicator assembly |
$15.48
|
1 |
|
ships same day |
16 |
272-2173
|
Chemical tank assembly |
$781.56
|
1 |
(includes 1 thru 15) |
usually ships 1-5 days |
N/S |
272-9375
|
Chemical bottle assembly |
$206.91
|
1 |
(includes 8, 9, 13) |
usually ships 13-18 days |