| # | Part | Description | Price | Req | Notes | Availability |
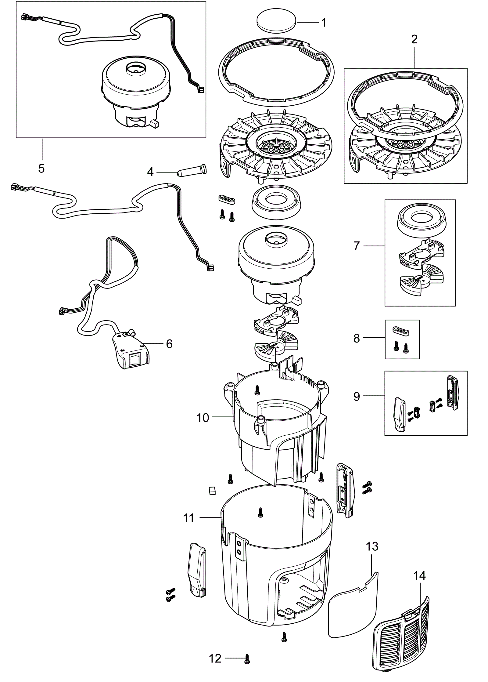
1 |
272-9191
|
Prefilter (pkg of 3) |
$15.27
|
1 |
|
usually ships 13-18 days |
2 |
372-1619
|
Chassis (dark grey) |
$19.80
|
1 |
|
usually ships 13-18 days |
4 |
181-0527
|
Protection sleeve kit (OBSOLETE) |
$37.05
|
1 |
|
usually ships 13-18 days |
5 |
472-1454
|
FAN UNIT 24V GD5 BATTERY |
$378.84
|
1 |
|
usually ships 13-18 days |
6 |
472-1444
|
SWITCH CPL GD5 BATTERY |
$70.40
|
1 |
|
usually ships 13-18 days |
7 |
372-1620
|
Motor suspension kit |
$5.50
|
1 |
|
usually ships 13-18 days |
8 |
272-0115
|
Anti strain clip |
$5.35
|
1 |
|
ships same day |
9 |
272-9173
|
Latch kit |
$104.15
|
1 |
|
usually ships 13-18 days |
10 |
472-1443
|
MOTOR COVER |
$19.47
|
1 |
|
usually ships 13-18 days |
11 |
272-9177
|
Outer cover (dark gray) (6XP) |
$57.16
|
1 |
|
usually ships 13-18 days |
12 |
172-3861
|
Screw |
$9.70
|
1 |
|
ships same day |
13 |
272-9188
|
Exhaust filter (pkg of 3) |
$20.82
|
1 |
|
ships same day |
14 |
272-9175
|
Exhaust grid |
$41.83
|
1 |
|
usually ships 13-18 days |