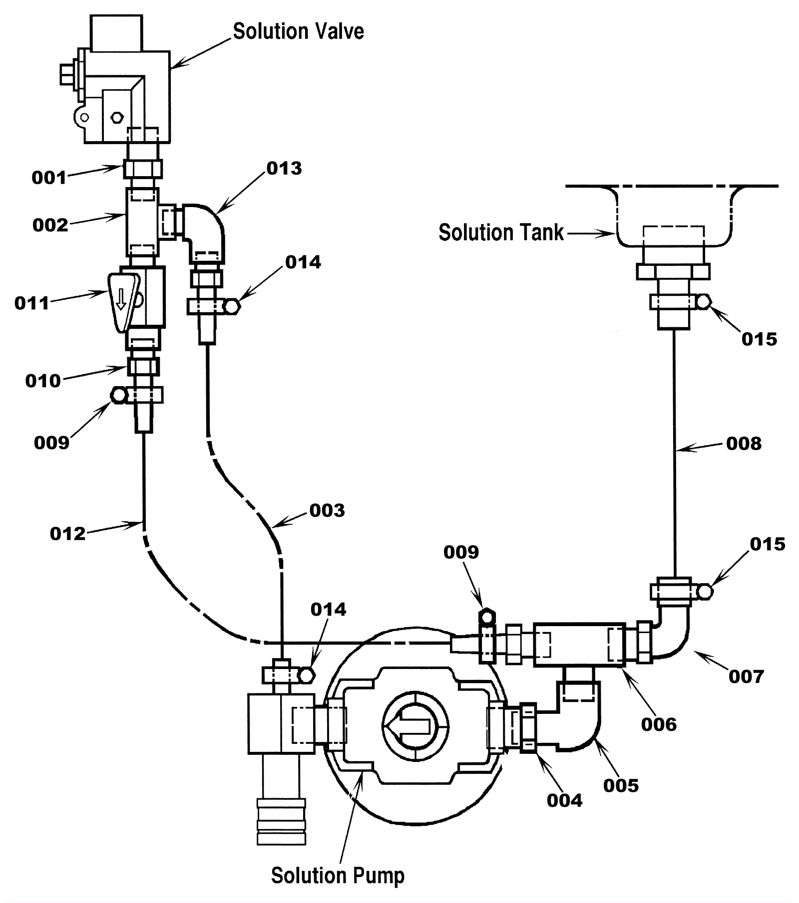
Flow Diverter Assembly
Click to enlarge