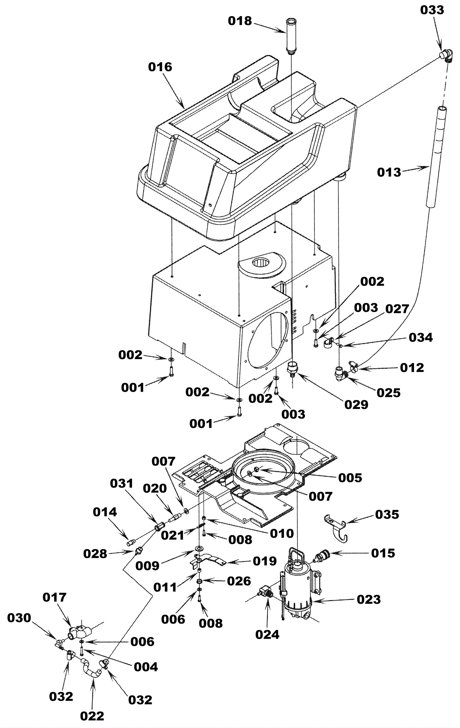
Solution System
Click to enlarge