# | Part | Description | Price | Req | Notes | Availability |
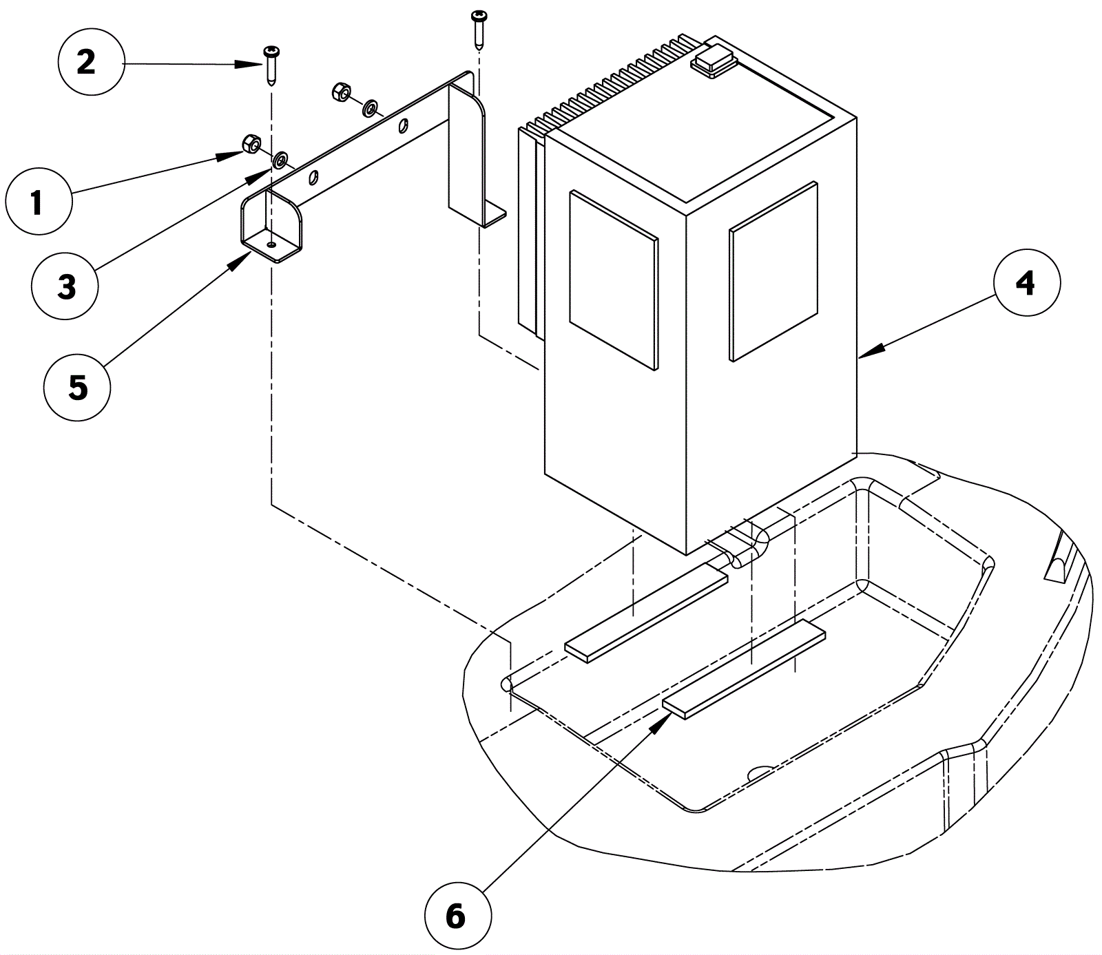
1 |
999-0497
|
Nut M6-1 nylon insert lock stainless steel |
$0.99
|
2 |
|
ships same day |
2 |
N/A
|
Not available |
Call for price
|
2 |
(Screw 4 x 8 threaded forming) |
usually ships 3-26 days |
3 |
N/A
|
Not available |
Call for price
|
2 |
(Washer 6 x 12.5 flat) |
usually ships 3-26 days |
4 |
172-3816
|
12V 20amp onboard battery charger |
$1,925.00
|
1 |
|
usually ships 1-5 days |
5 |
172-3819
|
Bracket (OBSOLETE) |
$33.86
|
1 |
|
usually ships 1-5 days |
6 |
172-3820
|
Seal (OBSOLETE) |
$10.52
|
2 |
|
usually ships 13-18 days |
N/S |
272-6551
|
Hardware kit |
$12.60
|
1 |
(includes 1-3, Screw M5 x 20, Screw M4 x 12 thread forming, Nut M8 and Screw 8 x 130) |
usually ships 1-5 days |