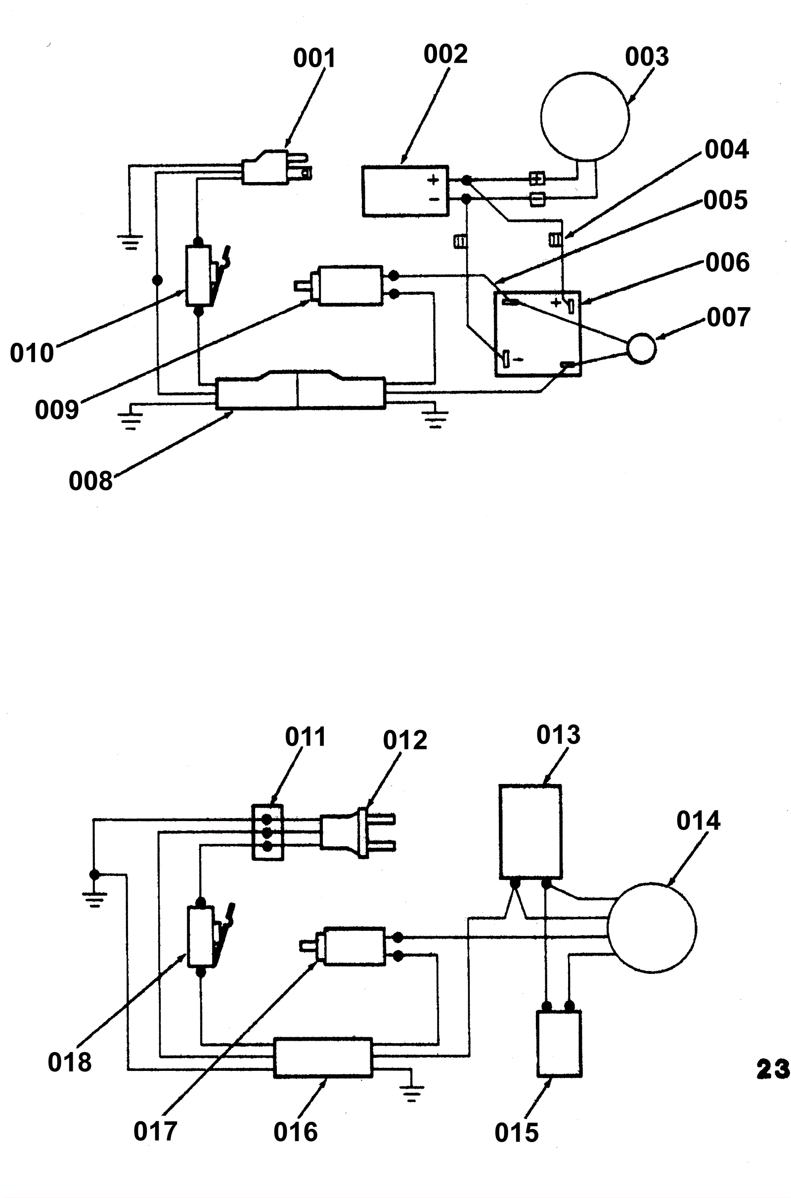
| # | Part | Description | Price | Req | Notes | Availability |
001 |
172-3558
|
14/2 cord set 50 ft (OBSOLETE) |
$273.09
|
1 |
|
usually ships 1-5 days |
001 |
172-4533
|
14/3 power cord 50 foot |
$233.93
|
1 |
|
usually ships 13-18 days |
002 |
172-1758
|
Capacitor |
$153.00
|
1 |
|
usually ships 13-18 days |
003a |
272-0367
|
Electric motor 120V AC 1.5 HP 2000 RPM (OBSOLETE) |
$1,606.77
|
1 |
(OEM) |
usually ships 1-5 days |
003b |
991-5142
|
120V 1.5HP electric motor |
$1,187.70
|
1 |
(NON-OEM) |
usually ships 1-5 days |
004 |
272-0371
|
Wire assembly (OBSOLETE) |
$10.01
|
2 |
|
usually ships 1-5 days |
005 |
N/A
|
Not available |
Call for price
|
1 |
|
usually ships 3-26 days |
006 |
172-4139
|
35amp rectifier |
$14.41
|
1 |
|
ships same day |
007 |
272-1691
|
Varistor |
$48.17
|
1 |
|
usually ships 1-5 days |
008 |
172-3037
|
Cord assembly 115V (OBSOLETE) |
$51.29
|
1 |
|
usually ships 13-18 days |
009 |
172-9572
|
15amp circuit breaker |
$80.75
|
1 |
|
usually ships 13-18 days |
010 |
172-0270
|
Snap switch (OBSOLETE) |
$47.30
|
1 |
|
usually ships 13-18 days |
011 |
172-4094
|
Terminal block |
$9.70
|
1 |
|
usually ships 13-18 days |
012 |
N/A
|
Not available |
Call for price
|
1 |
(230v cordset) |
usually ships 3-26 days |
013 |
N/A
|
Not available |
Call for price
|
1 |
|
usually ships 3-26 days |
014 |
N/A
|
Not available |
Call for price
|
1 |
|
usually ships 3-26 days |
015 |
N/A
|
Not available |
Call for price
|
1 |
|
usually ships 3-26 days |
016 |
N/A
|
Not available |
Call for price
|
1 |
|
usually ships 3-26 days |
017 |
172-2160
|
10amp circuit breaker |
$80.75
|
1 |
|
usually ships 13-18 days |
018 |
172-4628
|
Snap switch (OBSOLETE) (SEE NOTE) |
$42.39
|
1 |
|
usually ships 13-18 days |