| # | Part | Description | Price | Req | Notes | Availability |
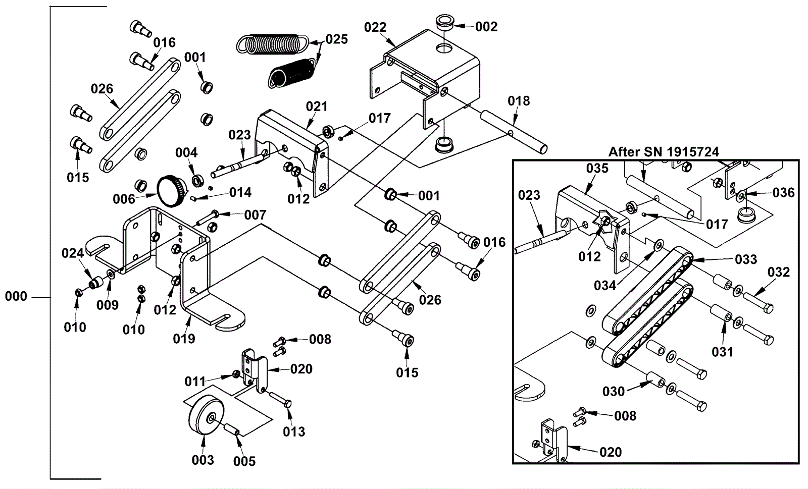
000 |
272-2133
|
Squeegee linkage assembly |
$818.29
|
1 |
(includes 001-026) |
usually ships 13-18 days |
001 |
172-9497
|
Flanged bearing |
$14.41
|
8 |
|
usually ships 13-18 days |
002 |
172-9388
|
Flanged bearing |
$14.41
|
2 |
|
usually ships 13-18 days |
003a |
172-0045
|
Guide wheel |
$14.41
|
1 |
(OEM) |
ships same day |
003b |
991-3051
|
Guide wheel |
$5.77
|
1 |
(NON-OEM) |
ships same day |
004 |
172-0071
|
Collar |
$9.70
|
2 |
|
usually ships 13-18 days |
005a |
172-0095
|
Bushing |
$41.83
|
1 |
(before SN 1915723) |
usually ships 13-18 days |
005b |
272-5366
|
Bushing |
$15.61
|
1 |
(after SN 1915724) |
ships same day |
006 |
172-0078
|
Knob |
$12.89
|
1 |
|
usually ships 13-18 days |
007 |
999-0344
|
Bolt 1/4-20 x 1 1/2 hex head plain finish |
$0.99
|
1 |
|
ships same day |
008 |
999-0019
|
Bolt 1/4-20 x 5/8 hex head grade 5 zinc plated |
$0.99
|
2 |
|
ships same day |
009 |
999-0123
|
Washer 1/4 SAE flat zinc plated |
$0.99
|
1 |
|
ships same day |
010 |
999-0152
|
Nut 1/4-20 nylon insert lock zinc plated |
$0.99
|
3 |
|
ships same day |
011 |
999-0304
|
Nut 1/4-20 nylon lock jam stainless steel |
$0.99
|
1 |
|
ships same day |
012 |
999-0188
|
Nut 3/8-16 nylon insert lock zinc plated |
$0.99
|
8 |
|
ships same day |
013 |
999-0506
|
Bolt 1/4-20 x 1 1/2 hex head stainless steel |
$1.28
|
1 |
|
ships same day |
014 |
999-1121
|
Screw 10-24 x 3/8 set cup point socket black oxide |
$0.99
|
1 |
|
ships same day |
015 |
999-0590
|
Screw 3/8-16 x 1/2 socket head shoulder |
$4.27
|
6 |
|
ships same day |
016 |
999-1361
|
Screw 3/8-16 x 3/4 socket shoulder |
$9.20
|
2 |
(before SN 1915723) |
ships same day |
017 |
999-0284
|
Screw 10-24 x 3/16 cup point socket set alloy plain finish |
$0.99
|
2 |
|
ships same day |
018 |
272-2135
|
Pin |
$34.23
|
1 |
|
usually ships 13-18 days |
019 |
272-2134
|
Squeegee mounting bracket |
$168.42
|
1 |
|
usually ships 13-18 days |
020 |
272-2136
|
Wheel bracket |
$25.75
|
1 |
|
usually ships 1-5 days |
021 |
272-2137
|
Squeegee leveling bracket |
$62.89
|
1 |
(before SN 1915723) |
usually ships 13-18 days |
022 |
272-2138
|
Squeegee lift weldment |
$138.15
|
1 |
|
usually ships 13-18 days |
023 |
272-2139
|
Adjustment rod |
$58.17
|
1 |
|
usually ships 13-18 days |
024 |
272-2140
|
Bushing |
$12.89
|
1 |
|
usually ships 13-18 days |
025 |
272-2141
|
Extension spring |
$25.75
|
2 |
|
usually ships 13-18 days |
026 |
272-2142
|
Linkage arm |
$37.27
|
4 |
(before SN 1915723) |
usually ships 13-18 days |
030 |
272-9957
|
Phenolic spacer |
$12.89
|
6 |
(after SN 1915724) |
usually ships 13-18 days |
031 |
272-8022
|
Phenolic spacer |
$12.89
|
2 |
(after SN 1915724) |
ships same day |
032 |
999-0107
|
Bolt 3/8-16 x 2 hex head grade 5 zinc plated |
$1.19
|
8 |
(after SN 1915724) |
ships same day |
033 |
272-8163
|
Molded linkage arm |
$12.89
|
4 |
(after SN 1915724) |
ships same day |
034 |
999-0120
|
Washer 3/8 SAE flat |
$0.99
|
14 |
(after SN 1915724) |
ships same day |
035 |
272-2137
|
Squeegee leveling bracket |
$62.89
|
1 |
(after SN 1915724) |
usually ships 13-18 days |
036 |
999-0349
|
Washer 5/8 SAE flat |
$0.99
|
2 |
(after SN 1915724) |
usually ships 16-20 days |