| # | Part | Description | Price | Req | Notes | Availability |
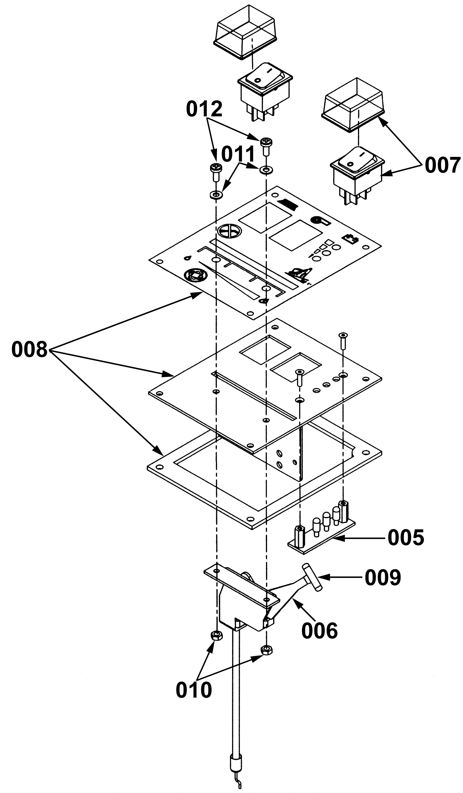
005 |
272-5469
|
LED card |
$65.07
|
1 |
|
usually ships 13-18 days |
006 |
181-0948
|
Solution cable and lever (water control wire) |
$54.32
|
1 |
|
usually ships 13-18 days |
007a |
272-0638
|
Rocker switch |
$12.89
|
2 |
Micromax |
ships same day |
007b |
272-2708
|
Switch kit |
$12.89
|
2 |
Razor |
usually ships 13-18 days |
007c |
172-0805
|
Switch boots with seal |
$17.48
|
1 |
Razor |
ships same day |
008a |
272-7138
|
Control panel with decal kit (OBSOLETE) |
$44.55
|
1 |
Micromax (includes 010 thru 012) |
usually ships 1-5 days |
008b |
N/A
|
Not available |
Call for price
|
1 |
Razor(Control panel with decal kit) (includes 010 thru 012) |
usually ships 3-26 days |
009 |
181-0951
|
Handle for lever |
$14.21
|
1 |
|
usually ships 13-18 days |
010 |
999-0062
|
Nut 10-24 hex |
$0.99
|
2 |
|
ships same day |
011 |
999-0006
|
Washer 3/16 flat zinc plated |
$0.99
|
2 |
|
ships same day |
012 |
999-0449
|
Screw 10-24 x 1 1/2 flat head slotted zinc plated |
$0.99
|
2 |
|
ships same day |