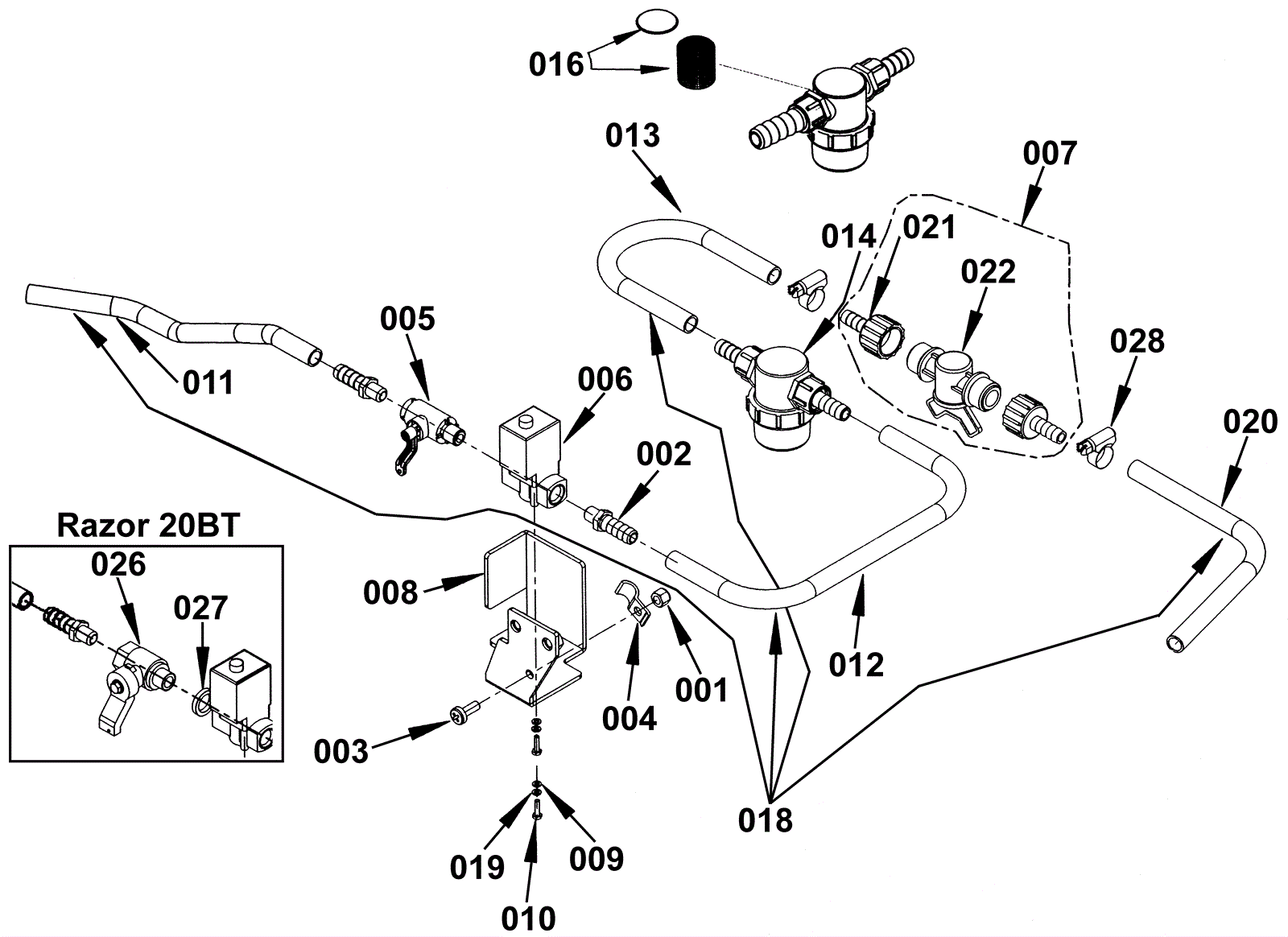
| # | Part | Description | Price | Req | Notes | Availability |
001 |
999-0497
|
Nut M6-1 nylon insert lock stainless steel |
$0.99
|
1 |
|
ships same day |
002a |
272-1978
|
Rubber barb |
$13.13
|
2 |
Micromax 20DD and 20DC |
usually ships 13-18 days |
002b |
272-1978
|
Rubber barb |
$13.13
|
2 |
Razor 20BT |
usually ships 13-18 days |
003 |
172-4823
|
Screw M6 x 16mm hex head |
$19.25
|
1 |
|
usually ships 13-18 days |
004b |
272-7121
|
Clamp |
$10.01
|
1 |
Razor 20BT |
usually ships 1-5 days |
005 |
272-7114
|
Solenoid valve kit (OBSOLETE) |
$60.19
|
1 |
Micromax 20DD and 20DC |
usually ships 13-18 days |
006 |
181-0921
|
24V solenoid valve |
$253.09
|
1 |
|
usually ships 13-18 days |
007 |
272-0749
|
Valve kit with pipe holder |
$54.34
|
1 |
|
usually ships 13-18 days |
008 |
N/A
|
Not available |
Call for price
|
1 |
(Solenoid bracket) |
usually ships 3-26 days |
009 |
999-1305
|
Washer M3 split lock stainless steel |
$0.99
|
2 |
|
ships same day |
010 |
272-7120
|
Bolt M3-.5 x 12mm hex head (OBSOLETE) |
$5.94
|
2 |
|
usually ships 1-5 days |
011 |
272-7095
|
Solenoid valve hose kit (OBSOLETE) |
$236.50
|
1 |
|
usually ships 13-18 days |
012 |
272-7095
|
Solenoid valve hose kit (OBSOLETE) |
$236.50
|
1 |
|
usually ships 13-18 days |
013 |
272-7095
|
Solenoid valve hose kit (OBSOLETE) |
$236.50
|
1 |
|
usually ships 13-18 days |
014 |
181-0924
|
Solution filter assembly |
$48.17
|
1 |
|
ships same day |
016 |
181-0923
|
Solution screen and gasket kit |
$24.31
|
1 |
|
ships same day |
019 |
272-7104
|
Washer M3 x 9mm flat stainless steel |
$10.52
|
2 |
|
usually ships 13-18 days |
020 |
272-7095
|
Solenoid valve hose kit (OBSOLETE) |
$236.50
|
1 |
|
usually ships 13-18 days |
021 |
272-7115
|
Holder pipe (OBSOLETE) |
$8.80
|
2 |
|
usually ships 1-5 days |
022 |
272-7112
|
Water valve |
$11.99
|
1 |
|
usually ships 13-18 days |
026 |
N/A
|
Not available |
Call for price
|
1 |
Razor 20BT Ball grip |
usually ships 3-26 days |
027 |
272-7117
|
Nut |
$9.35
|
1 |
Razor 20BT |
usually ships 1-5 days |
028 |
272-2669
|
Hose clamp (OBSOLETE) |
$6.16
|
2 |
|
usually ships 13-18 days |
N/S |
272-7113
|
Connector |
$12.71
|
1 |
|
usually ships 1-5 days |