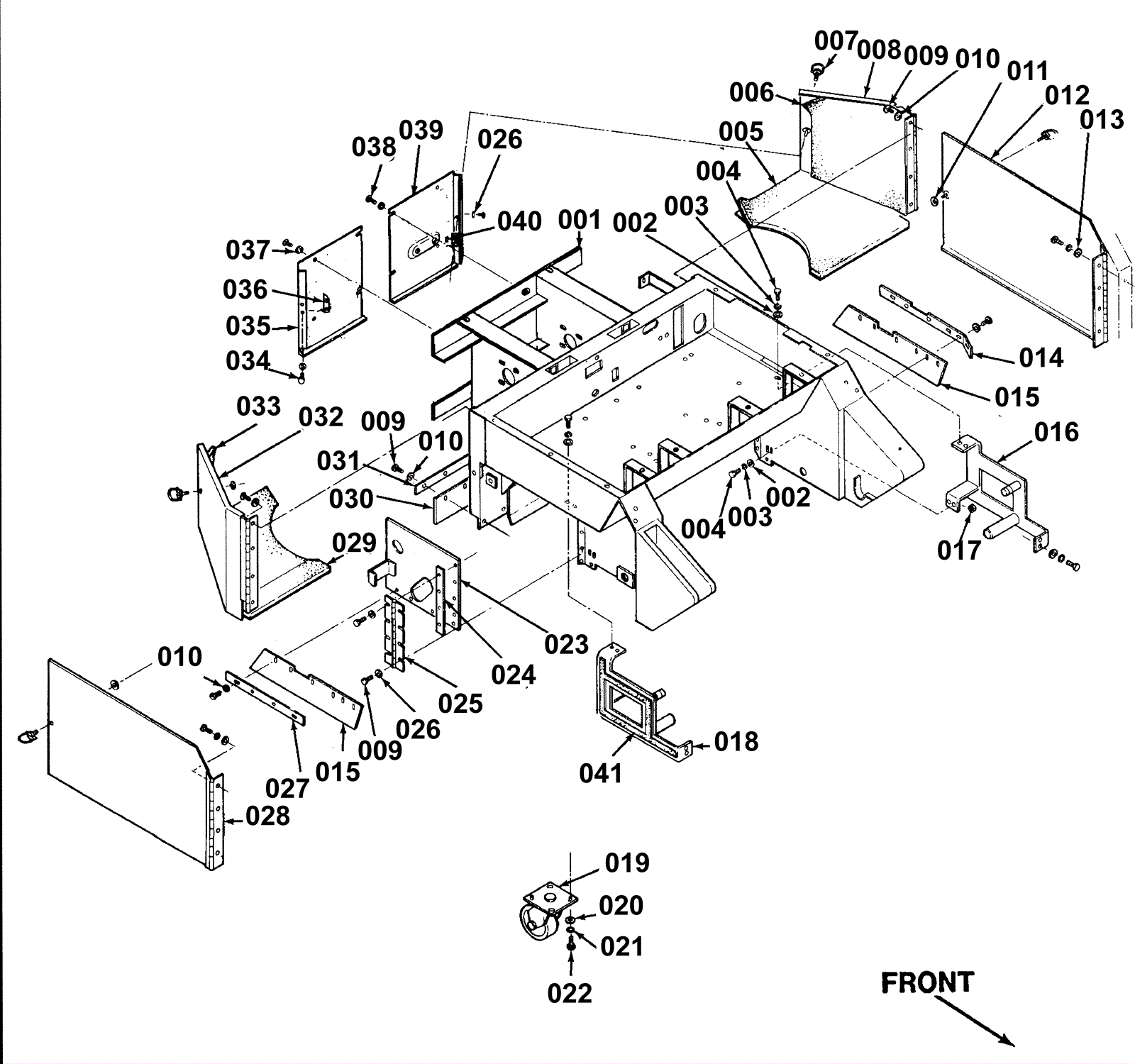
Chassis

Click to enlarge