| # | Part | Description | Price | Req | Notes | Availability |
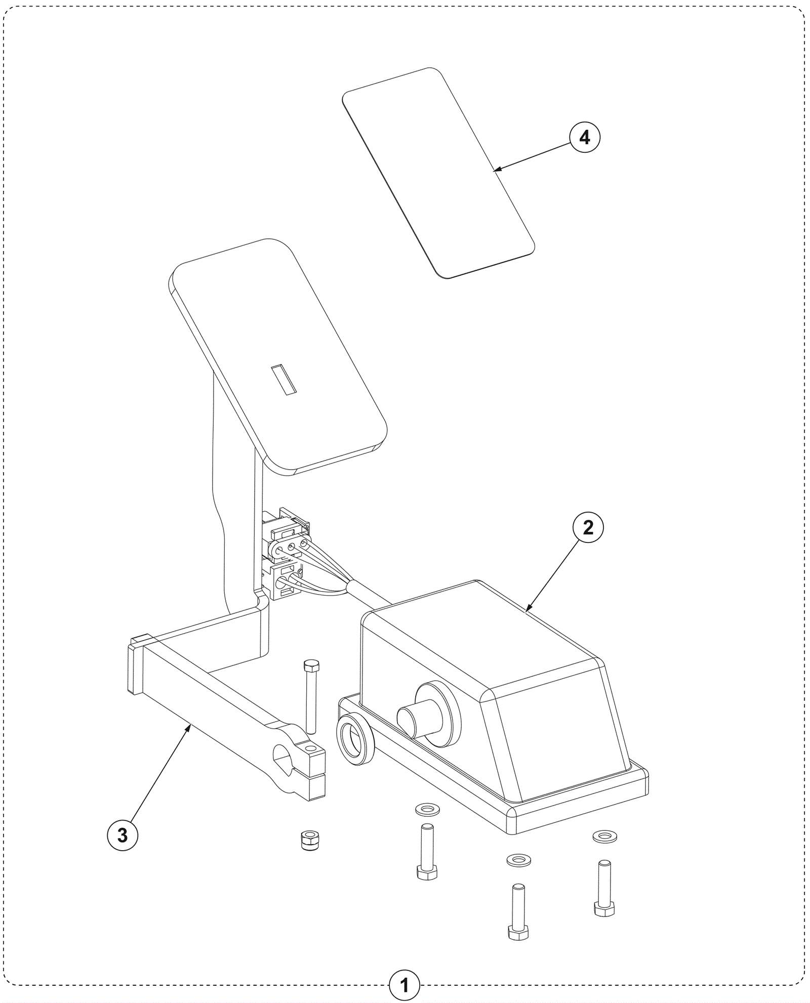
1 |
372-0189
|
Accelerator pedal kit |
$881.93
|
1 |
(includes 2-4) |
usually ships 13-18 days |
2 |
472-1292
|
ACCELERATOR ELECTRONIC PKD |
$553.52
|
1 |
|
usually ships 13-18 days |
3 |
372-0190
|
Accelerator pedal |
$329.16
|
1 |
|
usually ships 13-18 days |
4 |
372-0191
|
Anti-slip surfacing |
$28.94
|
1 |
|
usually ships 13-18 days |