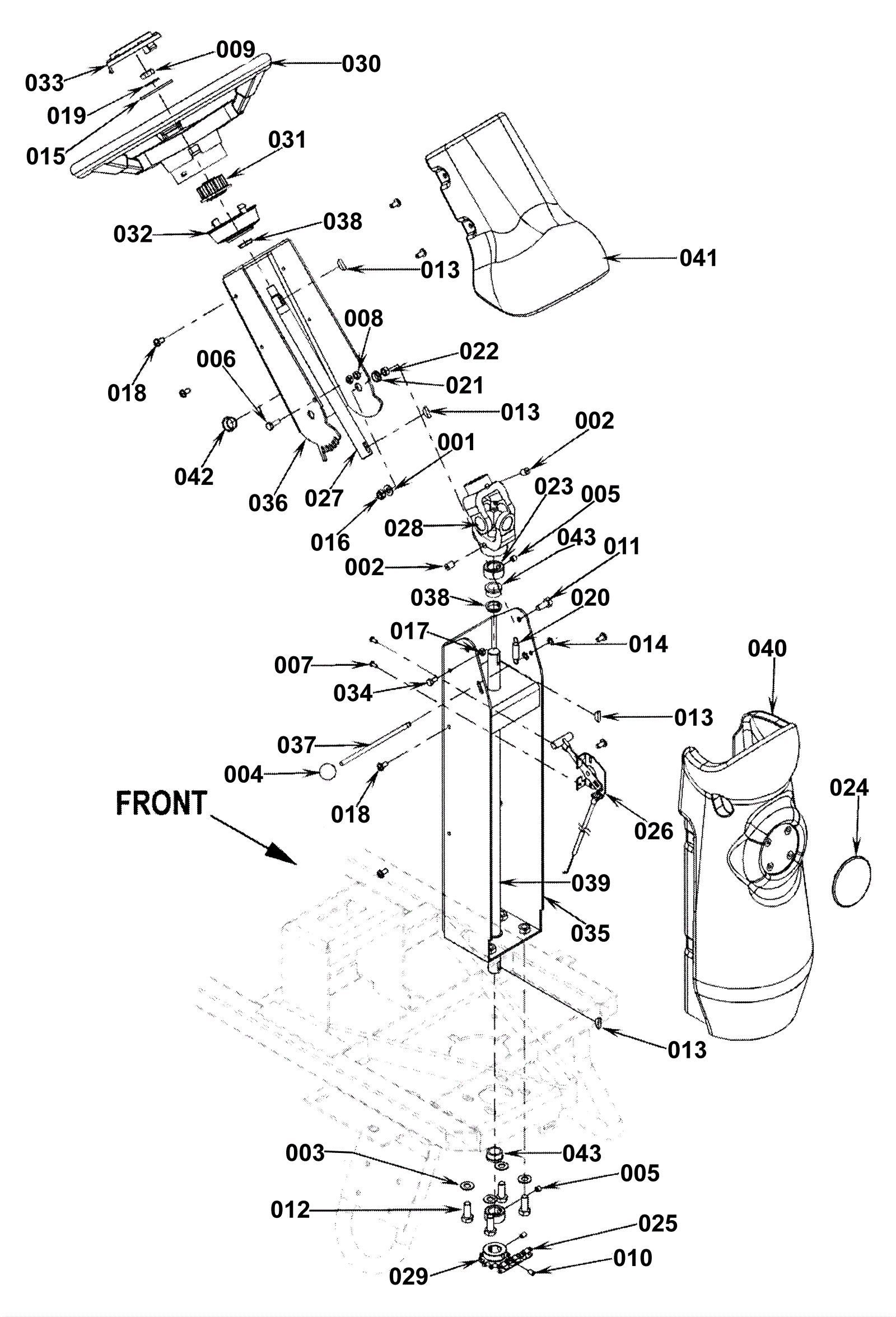
Steering Column Assembly
Click to enlarge